Skip to main content
Patents

Patent No. 9,757,279

By September 12, 2017July 27th, 2021No Comments

Granted on September 12, 2017

Patent No. 9,757,279

Intraocular Device for Dual Incisions

INVENTORS

Malik Kahook, MD

Abstract

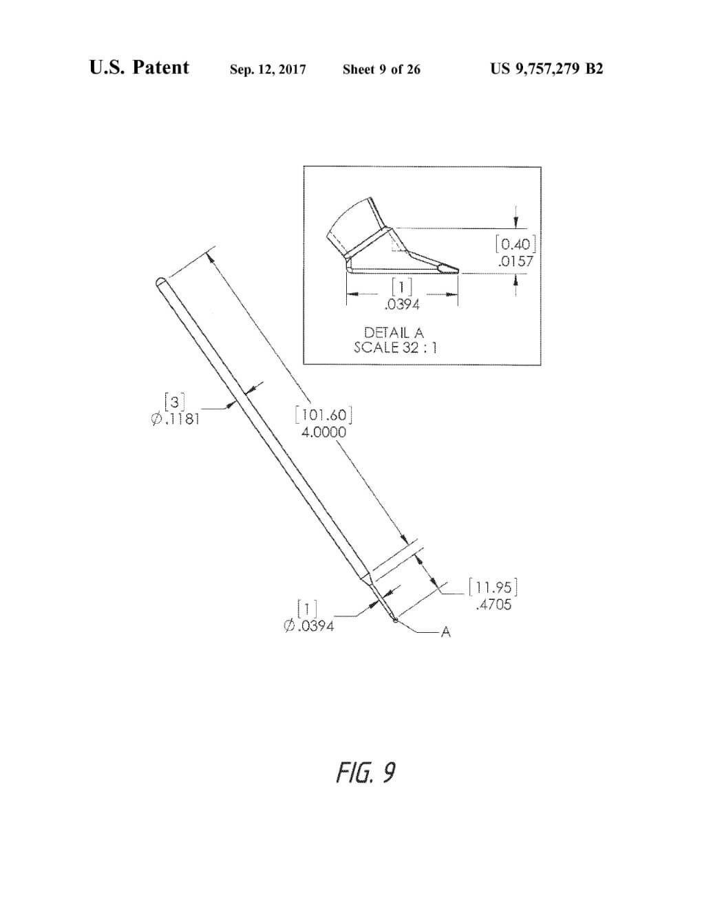
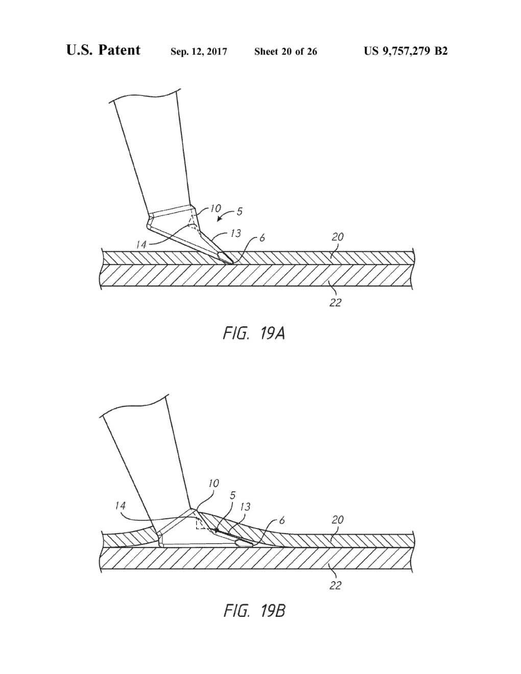
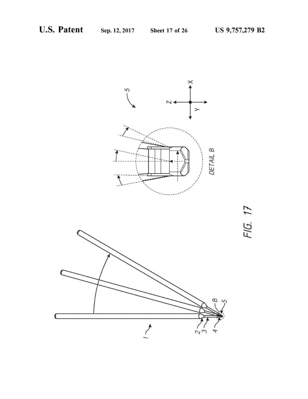
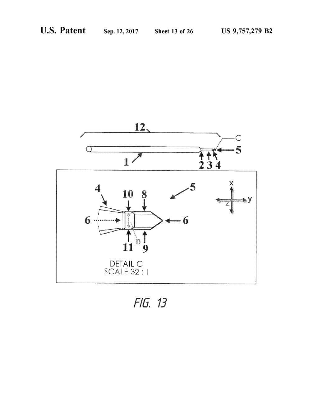
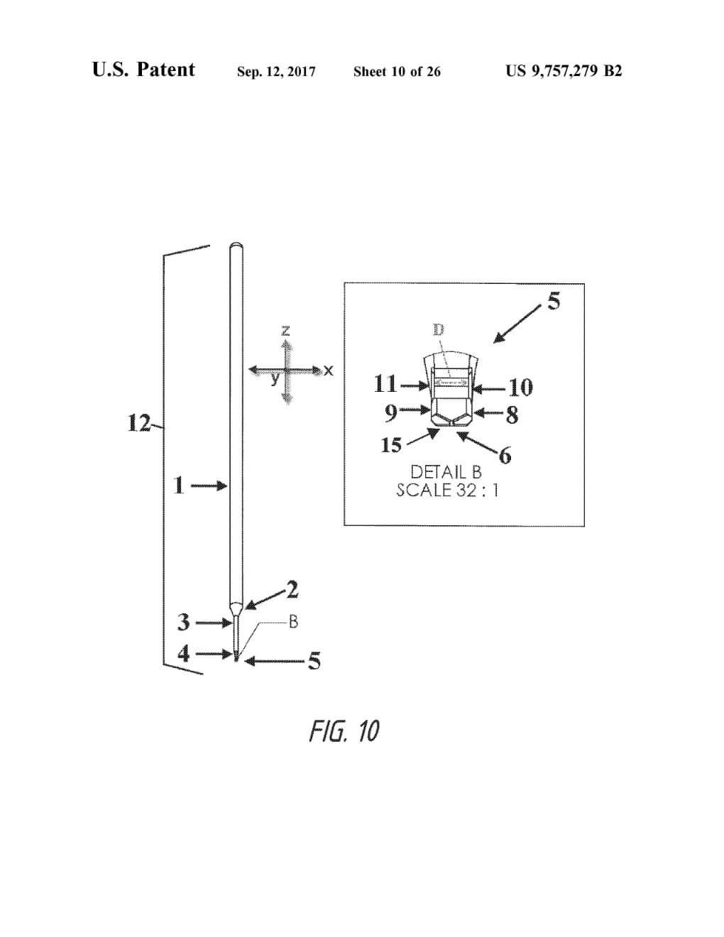
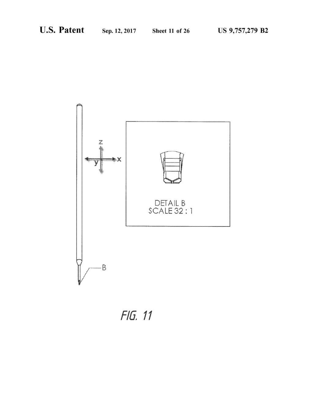
A microsurgical device and methods of its use can be used for treatment of various conditions including eye diseases, such as glaucoma, using minimally invasive surgical techniques. A dual-blade device can be used for cutting the trabecular meshwork (“TM”) in the eye. The device tip provides entry into the Schlemm’s canal via its size (i.e., for example, 0.2-0.3 mm width) and configuration where a ramp elevates the TM away from the outer wall of the Schlemm’s canal and guides the TM to first and second lateral elements for creating first and second incisions through the TM. The dimensions and configuration of the blade is such that an entire strip of TM is removed without leaving TM leaflets behind and without causing collateral damage to adjacent tissues.

Patent Images

March 16, 2021 in Patents

Patent No. 10,945,883

Granted on March 16, 2021 Patent No. 10,945,883 Ocular Implants, Inserter Devices, and Methods for Insertion of Ocular Implant INVENTORS Malik Kahook, MD Eric Porteous Suhail Abdullah Joey Tran Daniel…
Read More
March 16, 2021 in Patents

Patent No. 10,946,145

Granted on March 16, 2021 Patent No. 10,946,145 Device for Intraocular Fluid Injection INVENTORS Vijay Balan Nico Slabber Abstract Devices and methods for intraocular fluid injection are disclosed. A device…
Read More
March 16, 2021 in Patents

Patent No. 10,945,885

Granted on March 16, 2021 Patent No. 10,945,885 Intraocular Device for Dual Incisions INVENTORS Malik Kahook, MD Abstract A microsurgical device and methods of its use can be used for…
Read More
November 10, 2020 in Patents

Patent No. 10,828,196

Granted on November 10, 2020 Patent No. 10,828,196 Ocular Treatment Devices and Related Methods of Use INVENTORS Malik Kahook, MD Abstract Apparatus and methods for ocular treatment are provided. The…
Read More