Granted on March 16, 2021
Patent No. 10,946,145
Device for Intraocular Fluid Injection

INVENTORS

Vijay Balan

Nico Slabber
Abstract
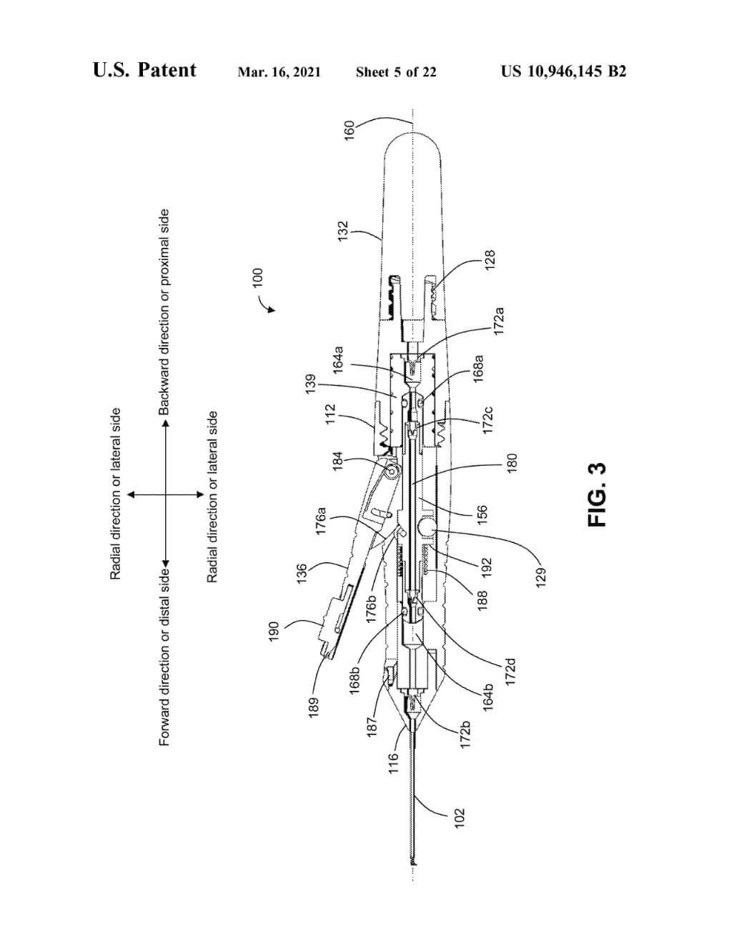
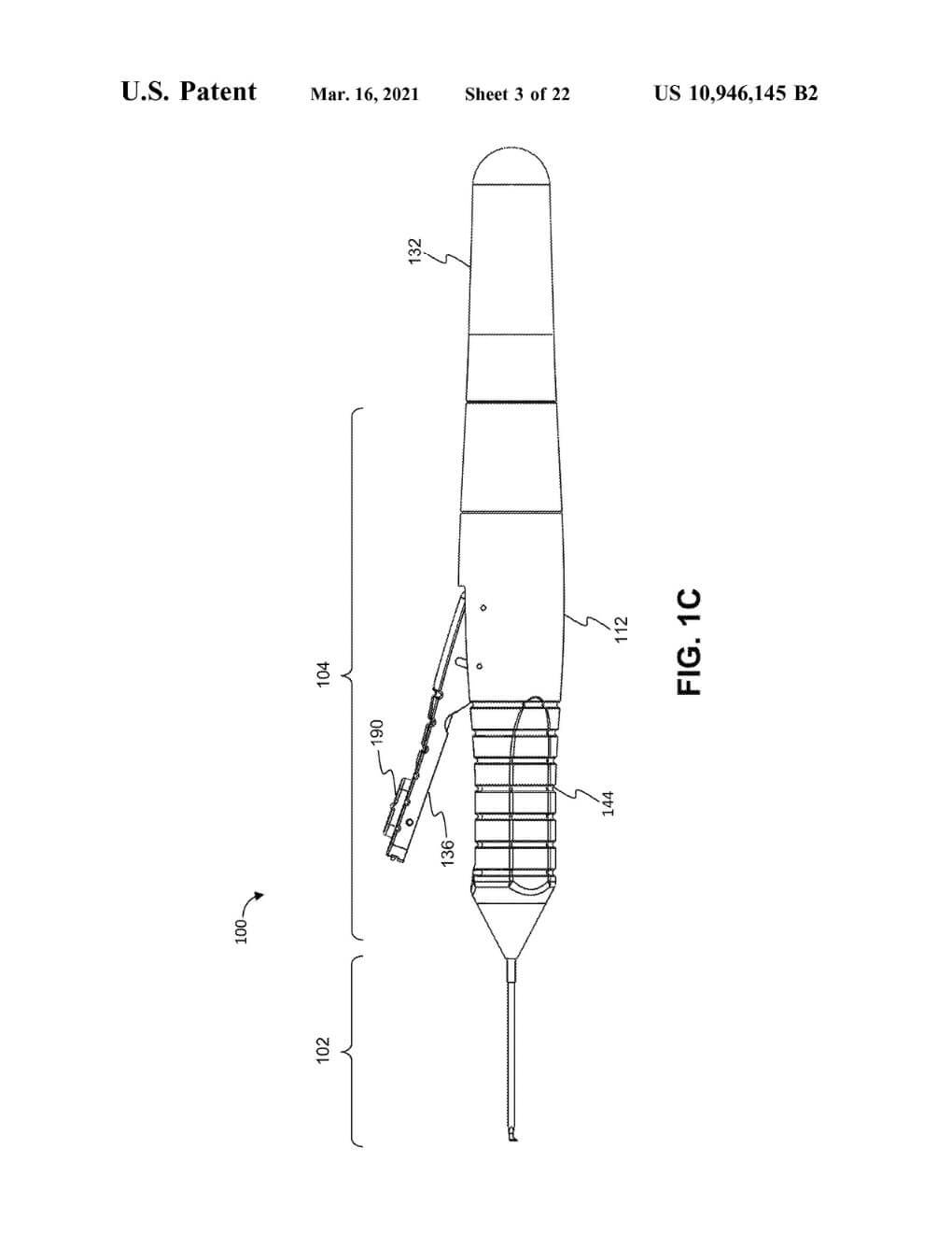
Devices and methods for intraocular fluid injection are disclosed. A device can include a surgical instrument for an ophthalmic procedure. The surgical instrument can include a handle. A fluid compartment can be coupled to the handle and configured to hold a substance. A tool can be coupled to the distal end of the handle and have a lumen configured to convey the substance into an intraocular site of a patient. A piston can be in the handle and configured to reciprocate along the longitudinal axis of the handle to draw the substance from the fluid compartment and eject the substance through the lumen of the tool. A push button can be on the lateral side of the housing and configured to engage the piston via a sloped surface to actuate a forward stroke of the piston towards the distal end of the handle.
