Granted on March 16, 2021
Patent No. 10,945,883
Ocular Implants, Inserter Devices, and Methods for Insertion of Ocular Implant

INVENTORS

Malik Kahook, MD

Eric Porteous

Suhail Abdullah

Joey Tran

Daniel Davis

Nathan Collins

Nico Slabber
Abstract
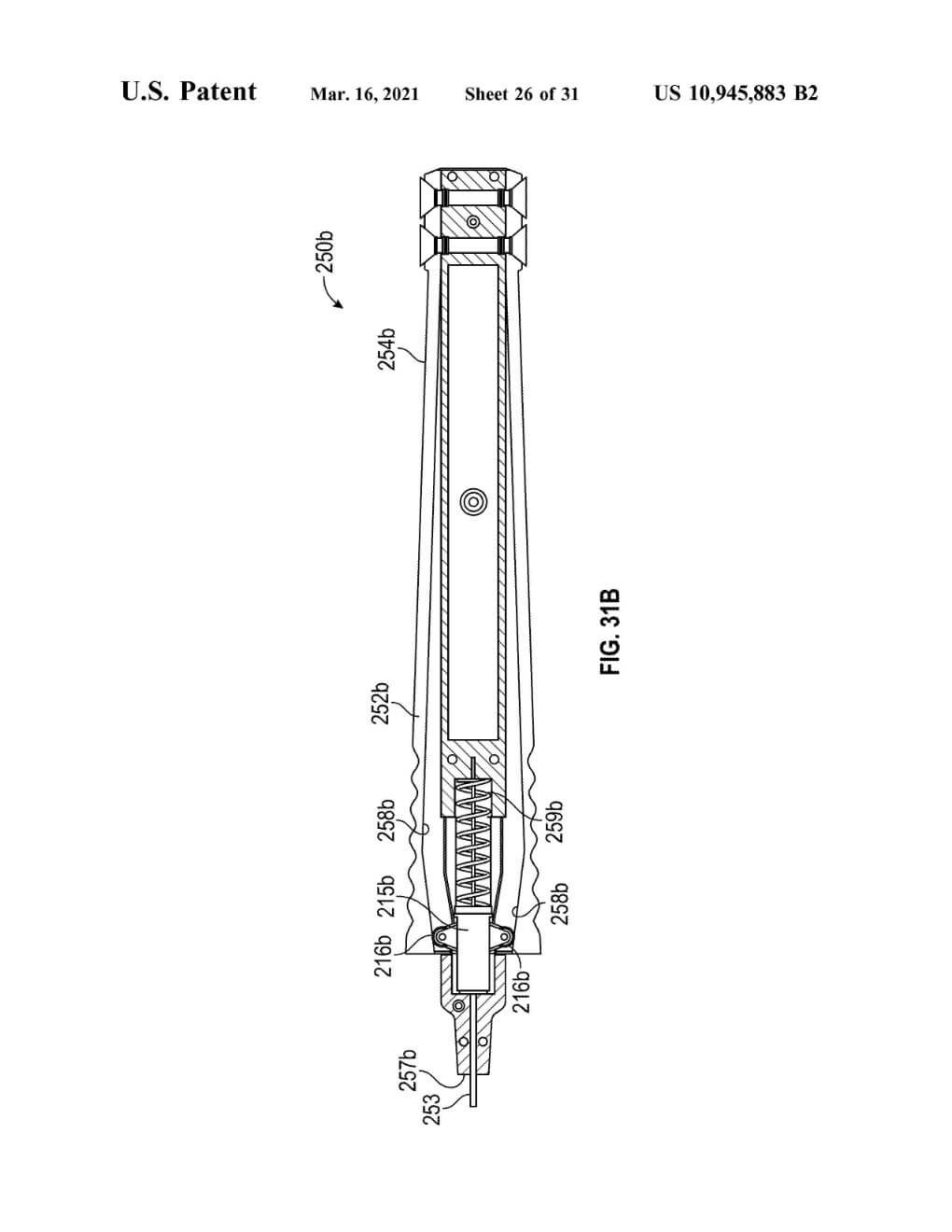
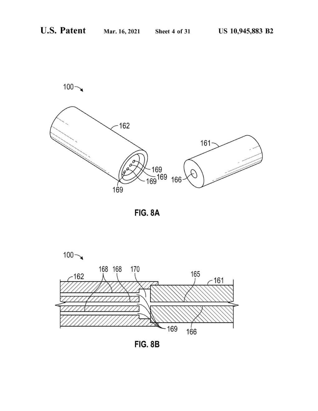
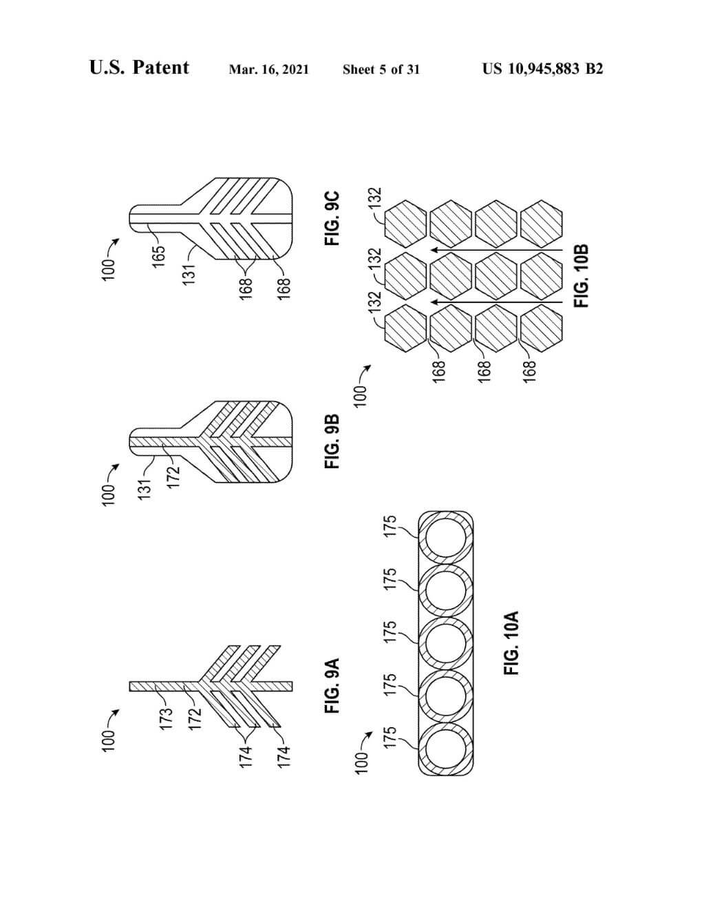
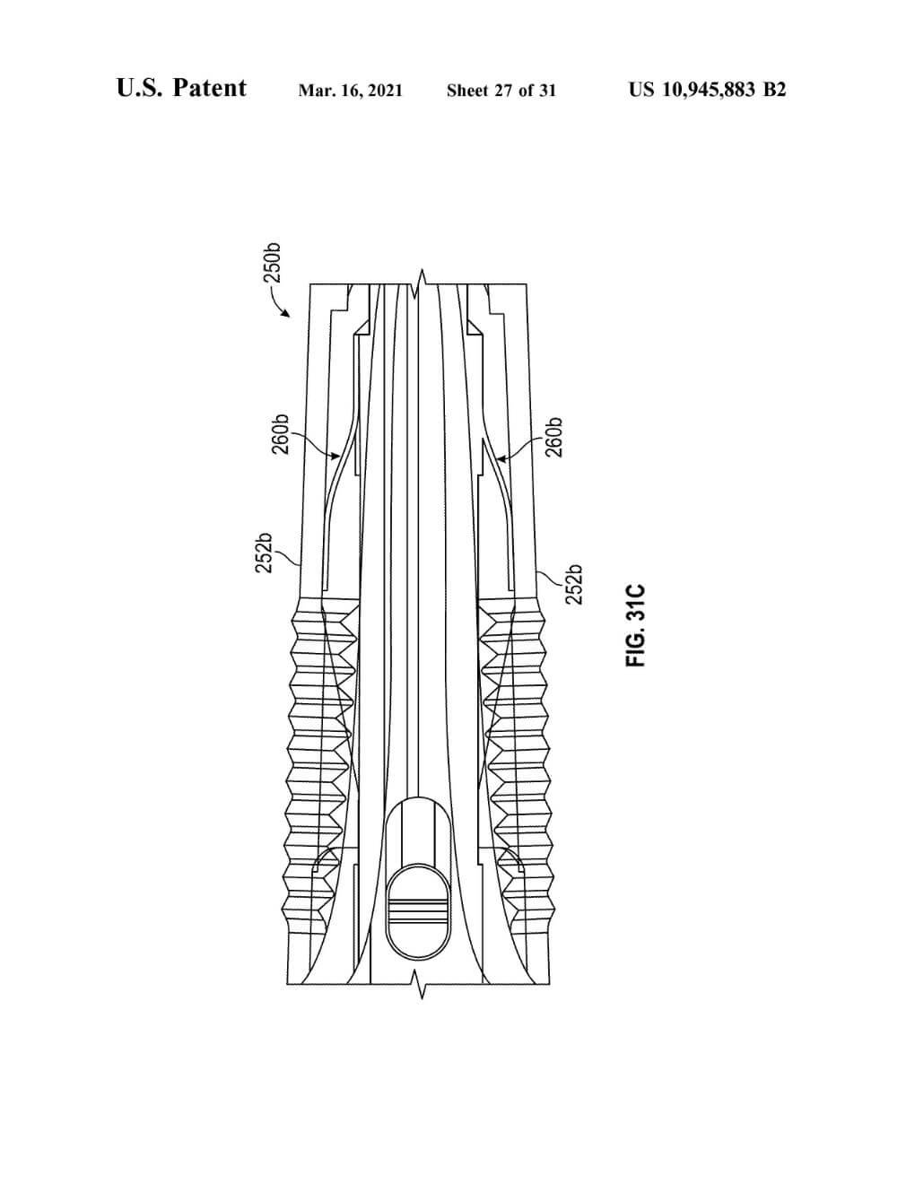
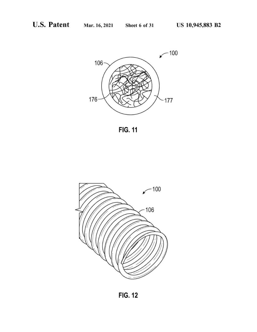
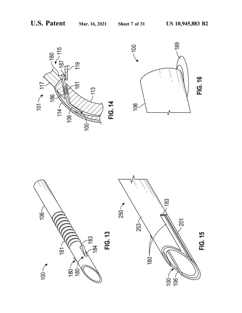
Intraocular drainage devices, intraocular implantation procedures, and inserter devices for intraocular implantation procedures are disclosure. A disclosed intraocular drainage device includes a tube having a distal end and a body disposed proximal to the tube. An inlet port is disposed on the distal end of the tube and configured to receive an influent fluid from an anterior chamber of an eye. An inlet fluid pathway is coupled to the inlet port and extends at least partially through the tube. A plurality of outlet fluid pathways extend at least partially through the body and branch from the inlet fluid pathway. A plurality of outlet ports are disposed on the body and coupled to the plurality of outlet fluid pathways. A disclosed inserter device for an ocular implantation procedure includes a handle, a needle, and a plunger. The needle is disposed on a distal end of the handle and configured to hold an intraocular drainage device. The plunger is coupled to the needle and disposed in the handle. The plunger is disposed distal to a vacuum chamber within the handle and configured to retract the needle based on a proximal force applied by the vacuum chamber.
