Granted on September 29, 2020
Patent No. 10,786,391
Intraocular Device for Dual Incisions

INVENTORS

Malik Kahook, MD
Abstract
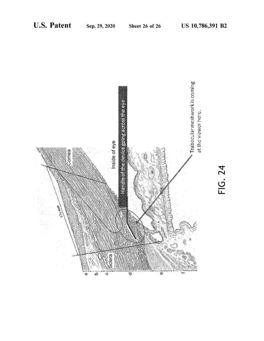
A microsurgical device and methods of its use can be used for treatment of various conditions including eye diseases, such as glaucoma, using minimally invasive surgical techniques. A dual-blade device can be used for cutting the trabecular meshwork (“TM”) in the eye. The device tip provides entry into the Schlemm’s canal via its size (i.e., for example, 0.2-0.3 mm width) and configuration where a ramp elevates the TM away from the outer wall of the Schlemm’s canal and guides the TM to first and second lateral elements for creating first and second incisions through the TM. The dimensions and configuration of the blade is such that an entire strip of TM is removed without leaving TM leaflets behind and without causing collateral damage to adjacent tissues.
