Skip to main content
Patents

Patent No. 10,543,122

By January 28, 2020March 30th, 2023No Comments

Granted on January 28, 2020

Patent No. 10,543,122

Ocular Treatment Devices and Related Methods of Use

INVENTORS

Malik Kahook, MD

Abstract

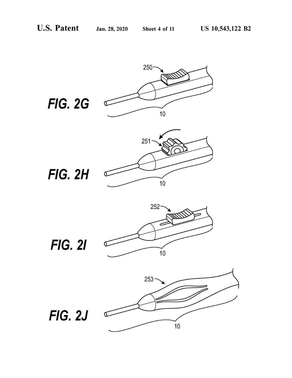
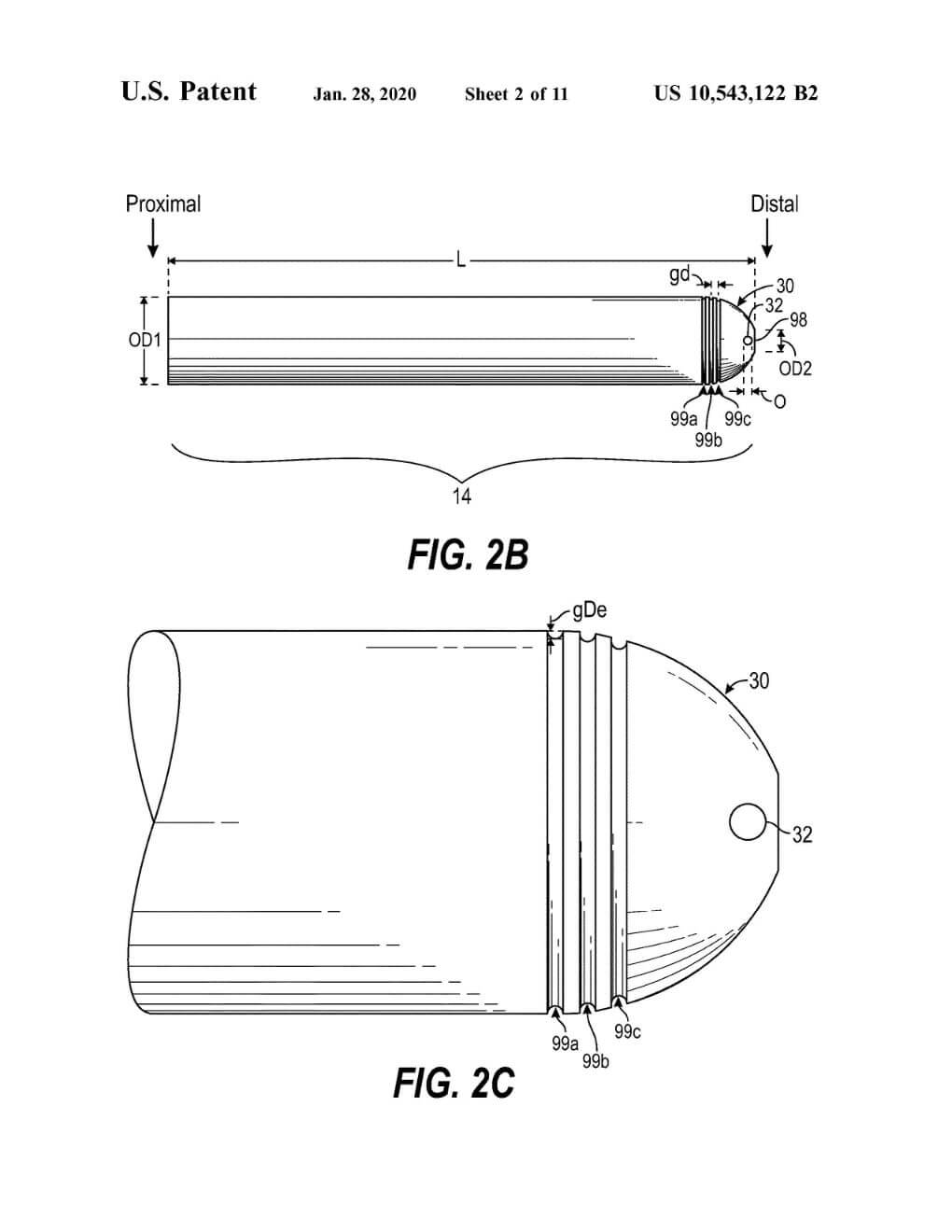
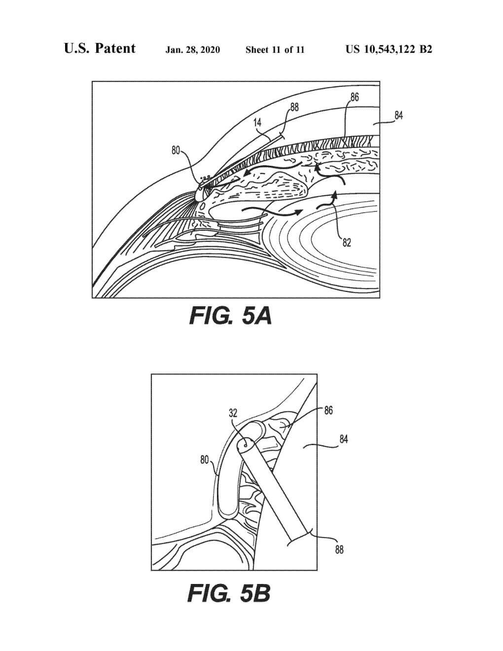
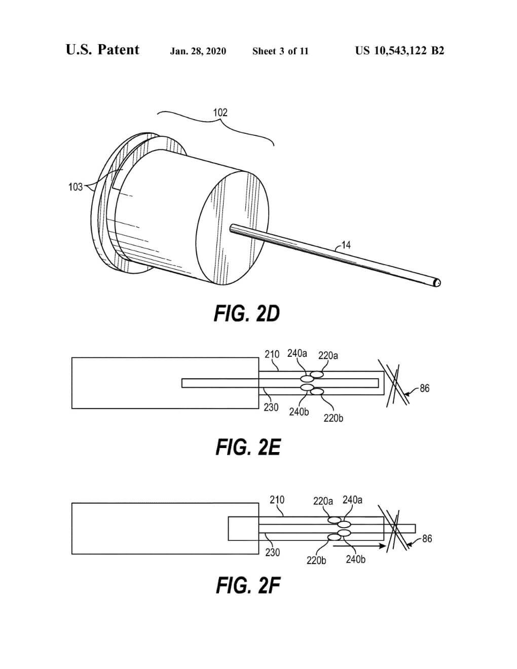
Apparatus and methods for ocular treatment are provided. The apparatus can comprise a microcannula having a proximal end, a distal end, a cavity, and a central longitudinal axis. The apparatus can include a handle coupled to the proximal end of the microcannula. The apparatus can include multiple offices extending circumferentially about the microcannula distal end, each of the orifices defining a channel extending transverse to the central longitudinal axis, and one or more grooves about a circumference of the microcannula.

Patent Images

March 16, 2021 in Patents

Patent No. 10,945,883

Granted on March 16, 2021 Patent No. 10,945,883 Ocular Implants, Inserter Devices, and Methods for Insertion of Ocular Implant INVENTORS Malik Kahook, MD Eric Porteous Suhail Abdullah Joey Tran Daniel…
Read More
March 16, 2021 in Patents

Patent No. 10,946,145

Granted on March 16, 2021 Patent No. 10,946,145 Device for Intraocular Fluid Injection INVENTORS Vijay Balan Nico Slabber Abstract Devices and methods for intraocular fluid injection are disclosed. A device…
Read More
March 16, 2021 in Patents

Patent No. 10,945,885

Granted on March 16, 2021 Patent No. 10,945,885 Intraocular Device for Dual Incisions INVENTORS Malik Kahook, MD Abstract A microsurgical device and methods of its use can be used for…
Read More
November 10, 2020 in Patents

Patent No. 10,828,196

Granted on November 10, 2020 Patent No. 10,828,196 Ocular Treatment Devices and Related Methods of Use INVENTORS Malik Kahook, MD Abstract Apparatus and methods for ocular treatment are provided. The…
Read More