Skip to main content
Patents

Patent No. 10,213,342

By February 26, 2019March 30th, 2023No Comments

Granted on February 26, 2019

Patent No. 10,213,342

Ophthalmic Knife and Methods of Use

INVENTORS

Malik Kahook, MD

Eric Porteous

Suhail Abdullah

Khalid Mansour

Abstract

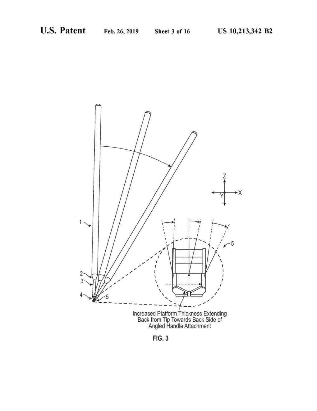
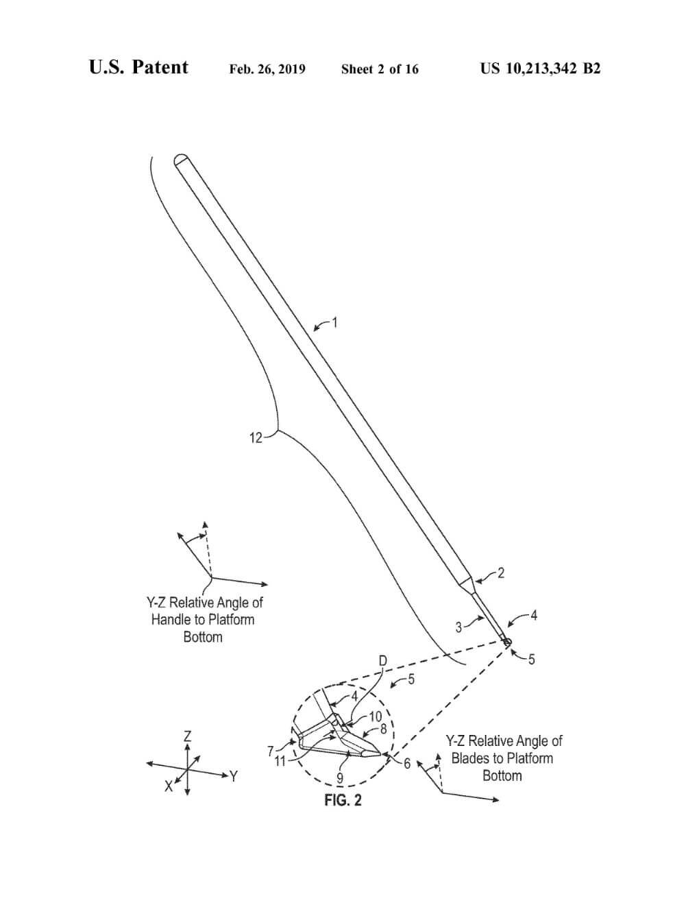
The present invention relates to an ophthalmic knife and methods of its use for treatment of various conditions including eye diseases, such as glaucoma, using minimally invasive surgical techniques. The invention relates to a multi-blade device for cutting the tissues within the eye, for example, a trabecular meshwork (TM).

Patent Images

March 16, 2021 in Patents

Patent No. 10,945,883

Granted on March 16, 2021 Patent No. 10,945,883 Ocular Implants, Inserter Devices, and Methods for Insertion of Ocular Implant INVENTORS Malik Kahook, MD Eric Porteous Suhail Abdullah Joey Tran Daniel…
Read More
March 16, 2021 in Patents

Patent No. 10,946,145

Granted on March 16, 2021 Patent No. 10,946,145 Device for Intraocular Fluid Injection INVENTORS Vijay Balan Nico Slabber Abstract Devices and methods for intraocular fluid injection are disclosed. A device…
Read More
March 16, 2021 in Patents

Patent No. 10,945,885

Granted on March 16, 2021 Patent No. 10,945,885 Intraocular Device for Dual Incisions INVENTORS Malik Kahook, MD Abstract A microsurgical device and methods of its use can be used for…
Read More
November 10, 2020 in Patents

Patent No. 10,828,196

Granted on November 10, 2020 Patent No. 10,828,196 Ocular Treatment Devices and Related Methods of Use INVENTORS Malik Kahook, MD Abstract Apparatus and methods for ocular treatment are provided. The…
Read More