Granted on December 18, 2018
Patent No. 10,154,925
Intraocular Drainage Device

INVENTORS

Dr. A. Mateen Ahmed

Eric Porteous

Suhail Abdullah

Khalid Mansour

Joey Tran

Patrick Chen
Abstract
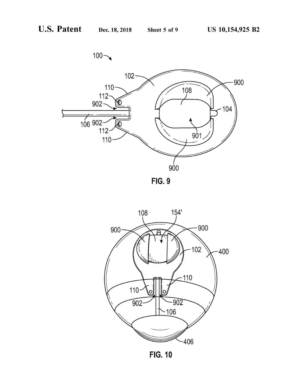
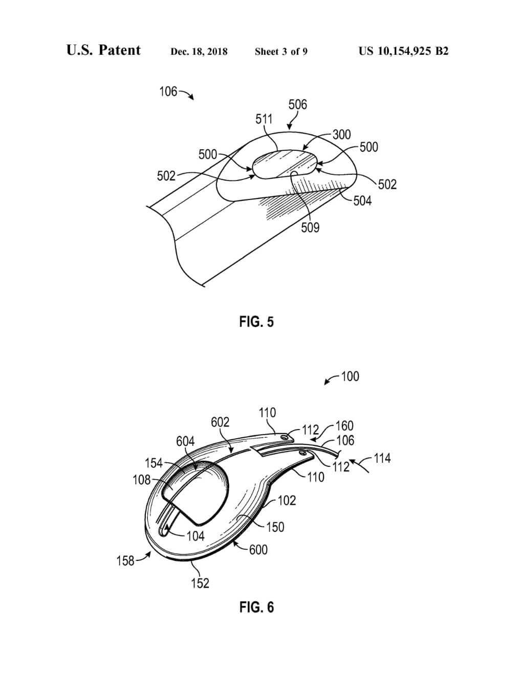
An intraocular drainage device may include a monolithic silicone body having a flap, a rigid bottom plate having a portion configured to contact a corresponding portion of the flap, and a tube having a proximal end disposed between the flap and the rigid bottom plate. The corresponding portion of the flap may be configured to separate from the portion of the rigid bottom plate responsive to a fluid pressure in aqueous humor received from the tube. A plurality of parallel microgrooves may be formed on one or more portions of one or more outer surfaces of the intraocular drainage device.
