New World Medical Patents & Product Launches New World Medical Thu, 15 May 2025 21:51:51 +0000 en-US hourly 1 https://wordpress.org/?v=6.8.3 https://www.qr.newworldmedical.com/wp-content/uploads/2021/06/cropped-cropped-favicon-32x32-1-32x32.png New World Medical Patents & Product Launches 32 32 VIA360 https://www.qr.newworldmedical.com/via360/ Thu, 19 Sep 2024 16:04:03 +0000 https://www.qr.newworldmedical.com/?p=7891 The post VIA360 appeared first on New World Medical Patents & Product Launches.

]]>

INTENDED USE: The VIA360™ Surgical System is indicated for delivery of controlled amounts of viscoelastic fluid during ophthalmic surgery. It is also indicated to cut trabecular meshwork tissue during trabeculotomy procedures.

PATIENT POPULATION: ADULT

PROJECT NAME: Vanguard

DEVELOPMENT TEAM: Joey Tran, Rich Summers (Project Lead), Dustin Tobey (Tech Lead), Harold Miller (Independent Reviewer), Cameron Kennedy, Hamid Sharifinejad, Jason Mohr, Daniel Taylor, Elyse Tighe, Eric Porteous, Wyatt Deane, Nghia Ho, Marty Segari, Erick Nunez

PRODUCT SUPPORT:

EXECUTIVE TEAM: Bilal Khan, Khalid Mansour, Raymond Kong, Joey Tran, Cristina Avalos, Brandon Blanche

COMMERCIAL TEAM: Raymond Kong, Jackie Martinez-Cearley, Michael Knutz

QUALITY AND REGULATORY TEAM: Cristina Avalos, Daniel Martell, Marty Segari, Mike Miller, Nancy Rivera, Ernesto Navarro, Alexis Lopez, Hazel Huang, Michael Waldon, Jaime Baldovino, Victor Arellano, Taj Kaur-Hurrle

SUSTAINING AND PRODUCTION TEAM: Brandon Blanche, Jonathan Menendez, Pete Albano, Erik Lazo, Nghia Ho, Oswaldo Pompa, Corey Wong, Abdul Timbo, Victor Guzman

CLINICAL AFFAIRS TEAM: Heather Reynolds, Kendra Wright, Elysia Ison, Jeremy Reimann, Mini Balaram, Dr Malik Kahook (CMA)

LEGAL TEAM: David Klann

PRODUCT DEVELOPMENT DURATION: 24 MONTHS (8/2022 – 8/2024)

REGULATORY CLEARANCE RECEIVED: FDA 510(k) K243503 FEBRUARY 14, 2025

DID YOU KNOW:

  • VIA360 started out with laser markings on the catheter but the actual process of installing them deteriorated the catheter material over time.
  • The colors selected for the handset were changed 3 times
  • Fluid pressure inside the pump reaches 180 psi!
  • The catheter mandrel is small enough that a single spool contains 7 miles of the wire. Enough for 100k devices!

SURGEON / PATIENT TESTIMONIALS:

The VIA360™ facilitates a targeted approach that is tailored to each patient's individual needs. The technology elevates the efficiency of the procedure by allowing me to deliver viscoelastic exactly where and when it's needed, with complete control at my fingertips

Inder Paul Sigh, MDTelling It Like It Is 2025

PRODUCTION DEVICE EXPLODED VIEW

The post VIA360 appeared first on New World Medical Patents & Product Launches.

]]>
Ahmed® Glaucoma Valve and Ahmed EVO https://www.qr.newworldmedical.com/ahmed-glaucoma-valve/ Thu, 08 Feb 2024 21:16:12 +0000 https://www.qr.newworldmedical.com/?p=7739 The post Ahmed® Glaucoma Valve and Ahmed EVO appeared first on New World Medical Patents & Product Launches.

]]>

Ahmed® Glaucoma Valve and Ahmed EVO

INTENDED USE: The Ahmed® Glaucoma Valve is indicated for the management of refractory glaucomas, where previous surgical treatment has failed, or by experience is known not to provide satisfactory results. Such refractory glaucomas can include neovascular glaucoma, primary open angle glaucoma unresponsive to medication, congenital or infantile glaucoma, and refractory glaucomas
resulting from aphakia or uveitis.

PATIENT POPULATION: Adult and Pediatric

PROJECT NAME: AGV and Phoenix (EVO)

DEVELOPMENT TEAM:

  • AGV: Dr. A. Mateen Ahmed
  • Phoenix: Jennfer Dede (Project Lead), Patrick Chen (Project Lead), Jason Mohr (Technical Reviewer), Wyatt Dean (Tech Lead), Helena Gan, Harold Miller (Independent Reviewer), Joey Tran

PRODUCT SUPPORT:

EXECUTIVE TEAM:

  • AGV: Dr. A. Mateen Ahmed
  • PHOENIX: Bilal Khan, Khalid Mansour, Raymond Kong

COMMERCIAL TEAM:

  • AGV: Dr. A. Mateen Ahmed, et al
  • PHOENIX: Raymond Kong, Jackie Martinez-Cearly

QUALITY AND REGULATORY TEAM:

  • AGV: Dr. A. Mateen Ahmed, et al
  • PHOENIX: Cristina Avalos, Daniel Martell, Andrei Badea, Nancy Rivera, Taj Kaur-Hurrle

SUSTAINING AND PRODUCTION TEAM:

  • AGV: Khalid Mansour, Joey Tran
  • PHOENIX: Brandon Blanche, Jonathan Menendez, Pete Albano, Deric Munoz, Abdul Timbo

CLINICAL AFFAIRS TEAM:

  • AGV: Dr. A. Mateen Ahmed
  • PHOENIX:

LEGAL TEAM:

  • AGV: Unknown
  • PHOENIX: David Klann

REGULATORY CLEARANCE RECEIVED:

DID YOU KNOW:

  • AGV was personally developed by Dr Ahmed when he had started an IOL company

PRODUCTION DEVICE EXPLODED VIEW

The post Ahmed® Glaucoma Valve and Ahmed EVO appeared first on New World Medical Patents & Product Launches.

]]>
Streamline https://www.qr.newworldmedical.com/streamline/ Mon, 25 Jul 2022 16:54:00 +0000 https://www.qr.newworldmedical.com/?p=7696 The post Streamline appeared first on New World Medical Patents & Product Launches.

]]>

INTENDED USE: STREAMLINE® Surgical System is a single-use disposable cannula for use during ophthalmic surgical procedures to deliver small amounts of ophthalmic viscoelastic fluid. The inner cutting cannula of the STREAMLINE® Surgical System is intended to create incisions in the trabecular meshwork tissue.

PATIENT POPULATION: ADULT

PROJECT NAME: CPI

DEVELOPMENT TEAM:

  • STREAMLINE: John Koontz, Harold Miller (Project Lead), Eric Porteous (Tech Lead), Joey Tran (Independent Reviewer), Vijay Bilan, Nico Slabber, Lee Yick, Elyse Tighe, Nathan Collins, Carlos Mendoza, Nghia Ho, Andre Badea
  • STREAMLINE 1.5: Chris Kee (Project Lead), Lee Yick (Tech Lead), Helena Gan, Joey Tran (Independent Reviewer)

PRODUCT SUPPORT:

EXECUTIVE TEAM: Bilal Khan, Khalid Mansour, Rafael Chan, Raymond Kong, John Koontz, Cristina Avalos, Brandon Blanche, Oswaldo Pompa

COMMERCIAL TEAM: Rafael Chan, Raymond Kong, Annamarie Piccioni, Brendon Keiser, Malika Singh, Jackie Martinez, Simon Oram, Jim Guarnera, Ray Nix, Clay Johnson, Michael Knutz, Yasir Iqbal, Toya Ashley

QUALITY AND REGULATORY TEAM: Cristina Avalos, Daniel Martell, Andre Badea, Billy Lu, Praveen Panasa, Ramon Venegas, Vinay Biligiri, Lorena Diaz, Erick Nunez, Marlon Vera Ornelas, Victor Arellano, Mukesh Sabarad, Yogi Shah, Komal Singh, Nancy Rivera

CLINICAL AFFAIRS TEAM: Theresa Landry, Heather Reynolds, Kendra Wright, Dr Malik Kahook (CMA)

LEGAL TEAM: David Klann

PRODUCT DEVELOPMENT DURATION: 30 MONTHS (11/2018 – 5/2021)

REGULATORY CLEARANCE RECEIVED: FDA 510(k) K211680 OCTOBER 8, 2021

DID YOU KNOW:

  • The project name “CPI” was an acronym for “Clear Path Injector” but when project “Cortez” was nearing commercialization, it took the name “Ahmed ClearPath” so the project name just remained “CPI” until commercialization where it took on the name “Streamline Surgical System”
  • Early prototypes had a green polymer tip. Surgeon feedback led to the tip being tinted blue to avoid color blind user issues.
  • One version of prototype had the injection assembly moving forward but this was rejected due to safety concern for damage to the back wall of Schlemm’s Canal
  • Early prototypes started with a glass distal tip. They were very functional but too fragile. Stainless steel was selected once capable suppliers were identified.
  • Project development happened during the COVID-19 pandemic. The organization managed this challenge in every aspect of the project to try to keep it on schedule for a soft launch scheduled in the second half of 2021. Truly an organizational effort!

SURGEON / PATIENT TESTIMONIALS:

The STREAMLINE® Surgical System is an excellent first-line option because it allows targeted creation of precise incisions and injections of viscoelastic while preserving the majority of the targeted tissue for possible future procedures.

Morgan MichelettiBerkley Eye Center, Houston, Texas

The STREAMLINE® Surgical System seamlessly fits within my surgical armamentarium. I am impressed by the elegant design of the device, and the positive experiences I have had with both the procedure and outcomes I have witnessed.

Don NguyenBVA, Tulsa, Oklahoma

"With the STREAMLINE® Surgical System I consistently get the results I am looking for. The reliable outcomes allow me to confidently hand patients back to Dr. Banas for post-operative care." - Paul Singh

"My overall experience with STREAMLINE® has been overwhelmingly positive. I have complete confidence that post operatively, my patients’ eyes will be very calm with minimal inflammation, thus, decreasing the complexity of the post-operative management." - Jeff Banas

Paul Singh, M.D. & Jeff Banas O.D.The Eye Centers of Racine & Kenosha, Kenosha, Wisconsin

PROTOTYPE PHOTOS

PRODUCTION DEVICE EXPLODED VIEW

The post Streamline appeared first on New World Medical Patents & Product Launches.

]]>
KDB Glide https://www.qr.newworldmedical.com/kdb-glide/ Mon, 25 Jul 2022 16:53:47 +0000 https://www.qr.newworldmedical.com/?p=7695 The post KDB Glide appeared first on New World Medical Patents & Product Launches.

]]>

INTENDED USE: The KDB GLIDE ® is a disposable ophthalmic knife, a manual surgical instrument used in ophthalmic surgical procedures to manually cut trabecular meshwork (TM) in pediatric and adult patients. The instrument is sterile and is intended for single patient, single use.

PATIENT POPULATION: Adult and Pediatric

PROJECT NAME: Glide

DEVELOPMENT TEAM: John Koontz, Joey Tran (Project Lead), Jason Mohr (Technical Lead), Harold Miller (Independent Reviewer), Vijay Bilan, Nico Slabber, Lee Yick, Jennifer Dede, Nathan Collins, Cameron Kennedy, Andre Badea

PRODUCT SUPPORT:

EXECUTIVE TEAM: Bilal Khan, Khalid Mansour, Rafael Chan, Raymond Kong, John Koontz, Cristina Avalos, Brandon Blanche, Oswaldo Pompa

COMMERCIAL TEAM: Rafael Chan, Raymond Kong, Annamarie Piccioni, Brendon Keiser, Malika Singh, Jackie Martinez, Simon Oram, Jim Guarnera, Ray Nix, Clay Johnson, Michael Knutz, Yasir Iqbal, Toya Ashley

QUALITY AND REGULATORY TEAM: Cristina Avalos, Daniel Martell, Andre Badea, Ramon Vanegas, Vinay Biligiri, Lorena Diaz, Erick Nunez, Marlon Vera Ornelas, Victor Arellano, Mukesh Sabarad, Yogi Shah, Komal Singh

SUSTAINING AND PRODUCTION TEAM: Oswaldo Pompa, Brandon Blanche, Jonathan Menendez, Pete Albano, Erik Lazo

CLINICAL AFFAIRS TEAM: Theresa Landry, Dr Malik Kahook (CMA)

LEGAL TEAM: David Klann

PRODUCT DEVELOPMENT DURATION: 32 MONTHS (02/2018 – 10/2020)

REGULATORY CLEARANCE RECEIVED: US: K220891

DID YOU KNOW:

  • KDB Glide was prototyped with a glass tip. There was marginal success due to the glass tip being fragile.
  • KDB Glide originally was developed with a polymer tip. There was marginal success due to the polymer tip being fragile.
  • Early prototypes had a green polymer tip. Surgeon feedback led to the tip being tinted blue to avoid color blind user issues.
  • Early prototypes started with a pump for dispensing OVD. This is how Streamline came about.

SURGEON / PATIENT TESTIMONIALS:

The great thing about KDB GLIDE® is that it literally glides through the canal of Schlemm because of its tapered sides and rounded heel, while excising a clean strip of trabecular meshwork. It has a short learning curve and is widely covered by insurance plans.

Blake WilliamsonWilliamson Eye Center, Baton Rouge, Louisiana

Intraoperatively, I appreciate the intuitive use of the KDB GLIDE®. Its dual blades allow me to make small, controlled movements in either direction of the trabecular meshwork to successfully excise a clean strip every time.

Additionally, with no implant, there is no risk of dislodgement or concern about placement given the submicron variances in a targeted approach.

Eric RosenbergSight MD, Babylon New York

The KDB GLIDE® is perfectly designed to unroof the posterior wall of the trabecular meshwork with minimal trauma to the canal of Schlemm. A single forehand pass with the KDB GLIDE® engaging the trabecular meshwork, maintaining mild anterior traction, and continuing for 3 - 4 clock hours results in a clean excisional goniotomy. The KDB GLIDE® is always my first choice for ab interno goniotomy.

Douglas GraysonOMNI Eye Services, West Orange, New Jersey

PROTOTYPE PHOTOS

PRODUCTION DEVICE DRAWING VIEW

The post KDB Glide appeared first on New World Medical Patents & Product Launches.

]]>
Ahmed ClearPath® and Ahmed ClearPath ST https://www.qr.newworldmedical.com/ahmed-clearpath/ Mon, 25 Jul 2022 16:53:33 +0000 https://www.qr.newworldmedical.com/?p=7694 The post Ahmed ClearPath® and Ahmed ClearPath ST appeared first on New World Medical Patents & Product Launches.

]]>

Ahmed ClearPath® and Ahmed ClearPath ST

INTENDED USE: The Ahmed ClearPath® glaucoma drainage devices are indicated for the management of refractory glaucoma where previous surgical treatment has failed or is not expected to provide satisfactory results.

PATIENT POPULATION: ADULT

PROJECT NAME: Cortez

DEVELOPMENT TEAM:

  • Ahmed ClearPath: John Koontz, Joey Tran (Project and Technical Lead), Ramon Venegas Jr (Independent Reviewer), Patrick Chen, Wyatt Deane, Daniel Martell
  • Ahmed ClearPath ST: Chris Kee (Project Lead), Cameron Kennedy (Co-Project Lead), Cody Jackson (Tech Lead), Jason Mohr, Harold Miller (Independent Reviewer), Helena Gan, Joey Tran

PRODUCT SUPPORT:

EXECUTIVE TEAM: Bilal Khan, Khalid Mansour, Rafael Chan, John Koontz, Cristina Avalos, Brandon Blanche, Oswaldo Pompa

COMMERCIAL TEAM: Rafael Chan, Annamarie Piccioni, Malika Singh, Ray Nix, Yasir Iqbal, Toya Ashley, Jackie Martinez-Cearley (ACP ST)

QUALITY AND REGULATORY TEAM: Cristina Avalos, Daniel Martell, Ramon Venegas, Lorena Diaz, Erick Nunez, Matt Emperado, Michael Waldon, Mukesh Sabarad

SUSTAINING AND PRODUCTION TEAM: Brandon Blanche, Oswaldo Pompa, Jonathan Menendez, Pete Albano, Erik Lazo (ACP ST)

CLINICAL AFFAIRS TEAM: Dr Malik Kahook (CMA)

LEGAL TEAM: David Klann

PRODUCT DEVELOPMENT DURATION:

  • 43 MONTHS (03/2017 – 10/2020) (ACP)
  • 6 MONTHS (09/2023 – 03/2024) (ACP ST)

REGULATORY CLEARANCE RECEIVED: FDA 510(k) K182518 JANUARY 18, 2019

SURGEON / PATIENT TESTIMONIALS:

Ahmed ClearPath® has been a welcomed addition to the surgical glaucoma treatment options for my patients. I've been particularly happy with the use of the Ahmed ClearPath® 250 because it offers a reservoir plate with a large surface area while eliminating the need to implant the device underneath the rectus muscles. Some of the earlier challenges I experienced with ligation of the tube for the early-flow restriction have been completely resolved by adding a single-loop just prior to the triple-loop throw of the ligation suture. It has become my go-to, non-valved glaucoma drainage implant.

Peter ChangBaylor Medical College, Houston, Texas

The Features of the Ahmed ClearPath® offer efficiency and advantages in my surgical routine for non-valved tube patients. The flexibility of the plate and anterior location of the suture eyelets makes for easier manipulation and implantation. Having performed non-valved tubes with and without a ripcord, I find it helpful to use the included 4-0 polypropylene ripcord suture along with a dissolvable ligating vicryl suture around the tube to help control flow and reduce risk of hypotony in the immediate post operative period for my patients/

Devang BhoiwalaThe Eye Center of New Jersey, Bloomfield, New Jersey

The Ahmed ClearPath® allows for a small incision technique with its malleable silicone material that naturally unfolds with a curvature that sits flush against the sclera. Also, the anteriorly positioned eyelets are beneficial for easier access and in my opinion one of the best features of this device.

Paul SinghThe Eye Centers of Racine & Kenosha, Kenosha, Wisconsin

PRODUCTION DEVICE DRAWING VIEW

The post Ahmed ClearPath® and Ahmed ClearPath ST appeared first on New World Medical Patents & Product Launches.

]]>
Kahook Dual Blade https://www.qr.newworldmedical.com/kahook-dual-blade/ Mon, 25 Jul 2022 16:52:53 +0000 https://www.qr.newworldmedical.com/?p=7692 The post Kahook Dual Blade appeared first on New World Medical Patents & Product Launches.

]]>

Kahook Dual Blade®

INTENDED USE: The Kahook Dual Blade® (KDB) is a disposable ophthalmic knife, a manual surgical instrument used in ophthalmic surgical procedures to manually cut trabecular meshwork (TM) in pediatric and adult patients. The KDB is sterile and is intended for single patient, single use.

PATIENT POPULATION: Adult and Pediatric

PROJECT NAME: KDB

DEVELOPMENT TEAM: Khalid Mansour, Suhail Abdullah, Joey Tran, Patrick Chen

PRODUCT SUPPORT:

EXECUTIVE TEAM: Bilal Khan, Khalid Mansour, Suhail Abdullah

COMMERCIAL TEAM: Yasir Iqbal

QUALITY AND REGULATORY TEAM: Cristina Avalos

SUSTAINING AND PRODUCTION TEAM: Did not exist at the time of release

CLINICAL AFFAIRS TEAM: Did not exist at the time of release

LEGAL TEAM: Did not exist at the time of release

PRODUCT DEVELOPMENT DURATION: 13 MONTHS (08/2014 – 08/2015)

REGULATORY CLEARANCE RECEIVED: US: Class 1, no 510(k) required.

DID YOU KNOW:

  • KDB was released when the company only had ~25 employees

PRODUCTION DEVICE EXPLODED VIEW

VIDEO LINKS:

PATENT LINKS:

The post Kahook Dual Blade appeared first on New World Medical Patents & Product Launches.

]]>
Patent No. 10,945,883 https://www.qr.newworldmedical.com/us10945883/ Tue, 16 Mar 2021 22:38:08 +0000 https://www.qr.newworldmedical.com/?page_id=6958 The post Patent No. 10,945,883 appeared first on New World Medical Patents & Product Launches.

]]>

Granted on March 16, 2021

Patent No. 10,945,883

Ocular Implants, Inserter Devices, and Methods for Insertion of Ocular Implant

INVENTORS

Malik Kahook, MD

Eric Porteous

Suhail Abdullah

Joey Tran

Daniel Davis

Nathan Collins

Nico Slabber

Abstract

Intraocular drainage devices, intraocular implantation procedures, and inserter devices for intraocular implantation procedures are disclosure. A disclosed intraocular drainage device includes a tube having a distal end and a body disposed proximal to the tube. An inlet port is disposed on the distal end of the tube and configured to receive an influent fluid from an anterior chamber of an eye. An inlet fluid pathway is coupled to the inlet port and extends at least partially through the tube. A plurality of outlet fluid pathways extend at least partially through the body and branch from the inlet fluid pathway. A plurality of outlet ports are disposed on the body and coupled to the plurality of outlet fluid pathways. A disclosed inserter device for an ocular implantation procedure includes a handle, a needle, and a plunger. The needle is disposed on a distal end of the handle and configured to hold an intraocular drainage device. The plunger is coupled to the needle and disposed in the handle. The plunger is disposed distal to a vacuum chamber within the handle and configured to retract the needle based on a proximal force applied by the vacuum chamber.

Patent Images

March 16, 2021 in Patents

Patent No. 10,945,883

Granted on March 16, 2021 Patent No. 10,945,883 Ocular Implants, Inserter Devices, and Methods for Insertion of Ocular Implant INVENTORS Malik Kahook, MD Eric Porteous Suhail Abdullah Joey Tran Daniel…
Read More
March 16, 2021 in Patents

Patent No. 10,946,145

Granted on March 16, 2021 Patent No. 10,946,145 Device for Intraocular Fluid Injection INVENTORS Vijay Balan Nico Slabber Abstract Devices and methods for intraocular fluid injection are disclosed. A device…
Read More
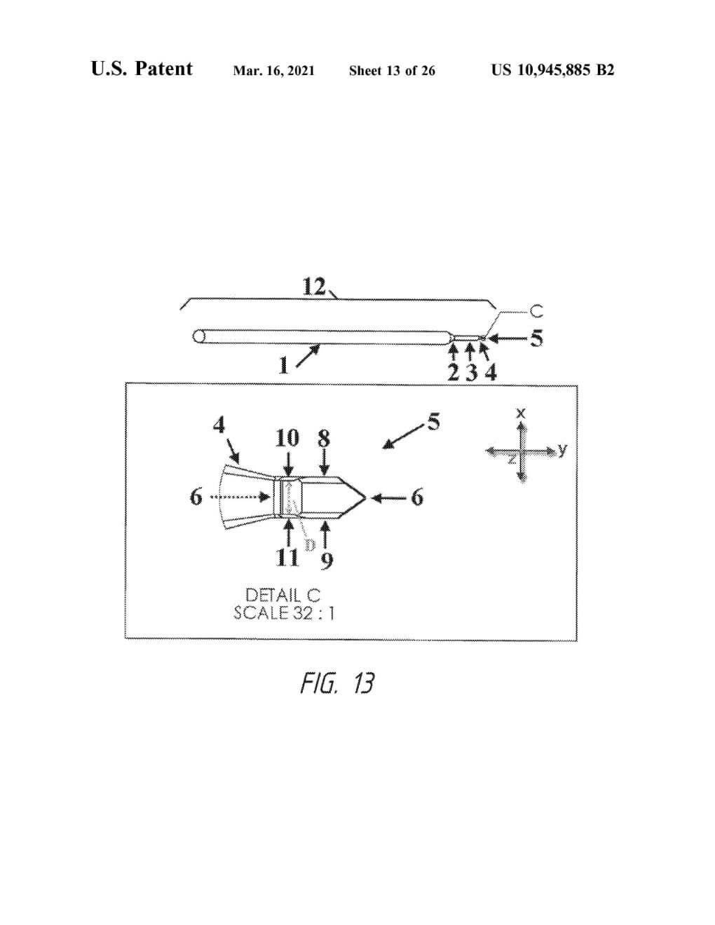
March 16, 2021 in Patents

Patent No. 10,945,885

Granted on March 16, 2021 Patent No. 10,945,885 Intraocular Device for Dual Incisions INVENTORS Malik Kahook, MD Abstract A microsurgical device and methods of its use can be used for…
Read More
November 10, 2020 in Patents

Patent No. 10,828,196

Granted on November 10, 2020 Patent No. 10,828,196 Ocular Treatment Devices and Related Methods of Use INVENTORS Malik Kahook, MD Abstract Apparatus and methods for ocular treatment are provided. The…
Read More

The post Patent No. 10,945,883 appeared first on New World Medical Patents & Product Launches.

]]>
Patent No. 10,946,145 https://www.qr.newworldmedical.com/us10946145/ Tue, 16 Mar 2021 22:37:37 +0000 https://www.qr.newworldmedical.com/?page_id=6955 The post Patent No. 10,946,145 appeared first on New World Medical Patents & Product Launches.

]]>

Granted on March 16, 2021

Patent No. 10,946,145

Device for Intraocular Fluid Injection

INVENTORS

Vijay Balan

Nico Slabber

Abstract

Devices and methods for intraocular fluid injection are disclosed. A device can include a surgical instrument for an ophthalmic procedure. The surgical instrument can include a handle. A fluid compartment can be coupled to the handle and configured to hold a substance. A tool can be coupled to the distal end of the handle and have a lumen configured to convey the substance into an intraocular site of a patient. A piston can be in the handle and configured to reciprocate along the longitudinal axis of the handle to draw the substance from the fluid compartment and eject the substance through the lumen of the tool. A push button can be on the lateral side of the housing and configured to engage the piston via a sloped surface to actuate a forward stroke of the piston towards the distal end of the handle.

Patent Images

March 16, 2021 in Patents

Patent No. 10,945,883

Granted on March 16, 2021 Patent No. 10,945,883 Ocular Implants, Inserter Devices, and Methods for Insertion of Ocular Implant INVENTORS Malik Kahook, MD Eric Porteous Suhail Abdullah Joey Tran Daniel…
Read More
March 16, 2021 in Patents

Patent No. 10,946,145

Granted on March 16, 2021 Patent No. 10,946,145 Device for Intraocular Fluid Injection INVENTORS Vijay Balan Nico Slabber Abstract Devices and methods for intraocular fluid injection are disclosed. A device…
Read More
March 16, 2021 in Patents

Patent No. 10,945,885

Granted on March 16, 2021 Patent No. 10,945,885 Intraocular Device for Dual Incisions INVENTORS Malik Kahook, MD Abstract A microsurgical device and methods of its use can be used for…
Read More
November 10, 2020 in Patents

Patent No. 10,828,196

Granted on November 10, 2020 Patent No. 10,828,196 Ocular Treatment Devices and Related Methods of Use INVENTORS Malik Kahook, MD Abstract Apparatus and methods for ocular treatment are provided. The…
Read More

The post Patent No. 10,946,145 appeared first on New World Medical Patents & Product Launches.

]]>
Patent No. 10,945,885 https://www.qr.newworldmedical.com/us10945885/ Tue, 16 Mar 2021 22:36:21 +0000 https://www.qr.newworldmedical.com/?page_id=6948 The post Patent No. 10,945,885 appeared first on New World Medical Patents & Product Launches.

]]>

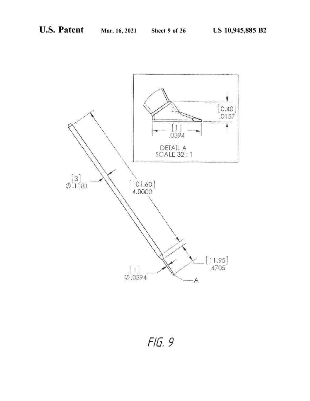
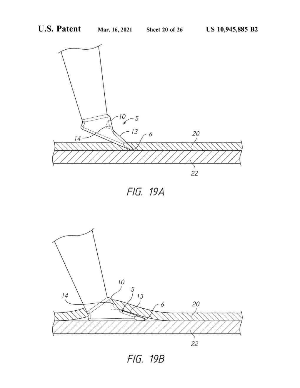
Granted on March 16, 2021

Patent No. 10,945,885

Intraocular Device for Dual Incisions

INVENTORS

Malik Kahook, MD

Abstract

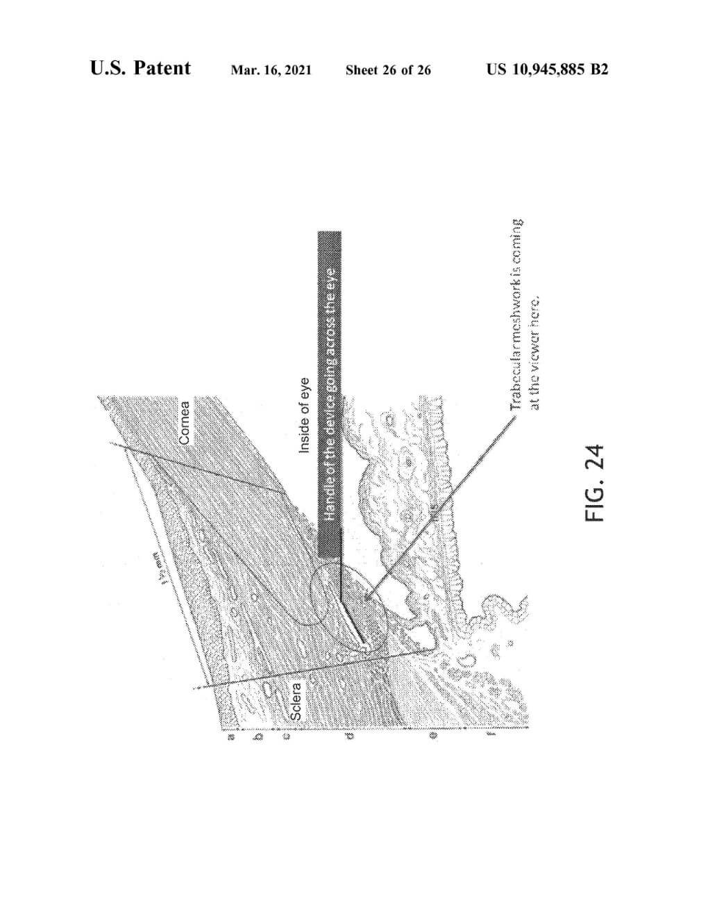
A microsurgical device and methods of its use can be used for treatment of various conditions including eye diseases, such as glaucoma, using minimally invasive surgical techniques. A dual-blade device can be used for cutting the trabecular meshwork (“TM”) in the eye. The device tip provides entry into the Schlemm’s canal via its size (i.e., for example, 0.2-0.3 mm width) and configuration where a ramp elevates the TM away from the outer wall of the Schlemm’s canal and guides the TM to first and second lateral elements for creating first and second incisions through the TM. The dimensions and configuration of the blade is such that an entire strip of TM is removed without leaving TM leaflets behind and without causing collateral damage to adjacent tissues.

Patent Images

March 16, 2021 in Patents

Patent No. 10,945,883

Granted on March 16, 2021 Patent No. 10,945,883 Ocular Implants, Inserter Devices, and Methods for Insertion of Ocular Implant INVENTORS Malik Kahook, MD Eric Porteous Suhail Abdullah Joey Tran Daniel…
Read More
March 16, 2021 in Patents

Patent No. 10,946,145

Granted on March 16, 2021 Patent No. 10,946,145 Device for Intraocular Fluid Injection INVENTORS Vijay Balan Nico Slabber Abstract Devices and methods for intraocular fluid injection are disclosed. A device…
Read More
March 16, 2021 in Patents

Patent No. 10,945,885

Granted on March 16, 2021 Patent No. 10,945,885 Intraocular Device for Dual Incisions INVENTORS Malik Kahook, MD Abstract A microsurgical device and methods of its use can be used for…
Read More
November 10, 2020 in Patents

Patent No. 10,828,196

Granted on November 10, 2020 Patent No. 10,828,196 Ocular Treatment Devices and Related Methods of Use INVENTORS Malik Kahook, MD Abstract Apparatus and methods for ocular treatment are provided. The…
Read More

The post Patent No. 10,945,885 appeared first on New World Medical Patents & Product Launches.

]]>
Patent No. 10,828,196 https://www.qr.newworldmedical.com/us10828196/ Tue, 10 Nov 2020 22:38:17 +0000 https://www.qr.newworldmedical.com/?page_id=6942 The post Patent No. 10,828,196 appeared first on New World Medical Patents & Product Launches.

]]>

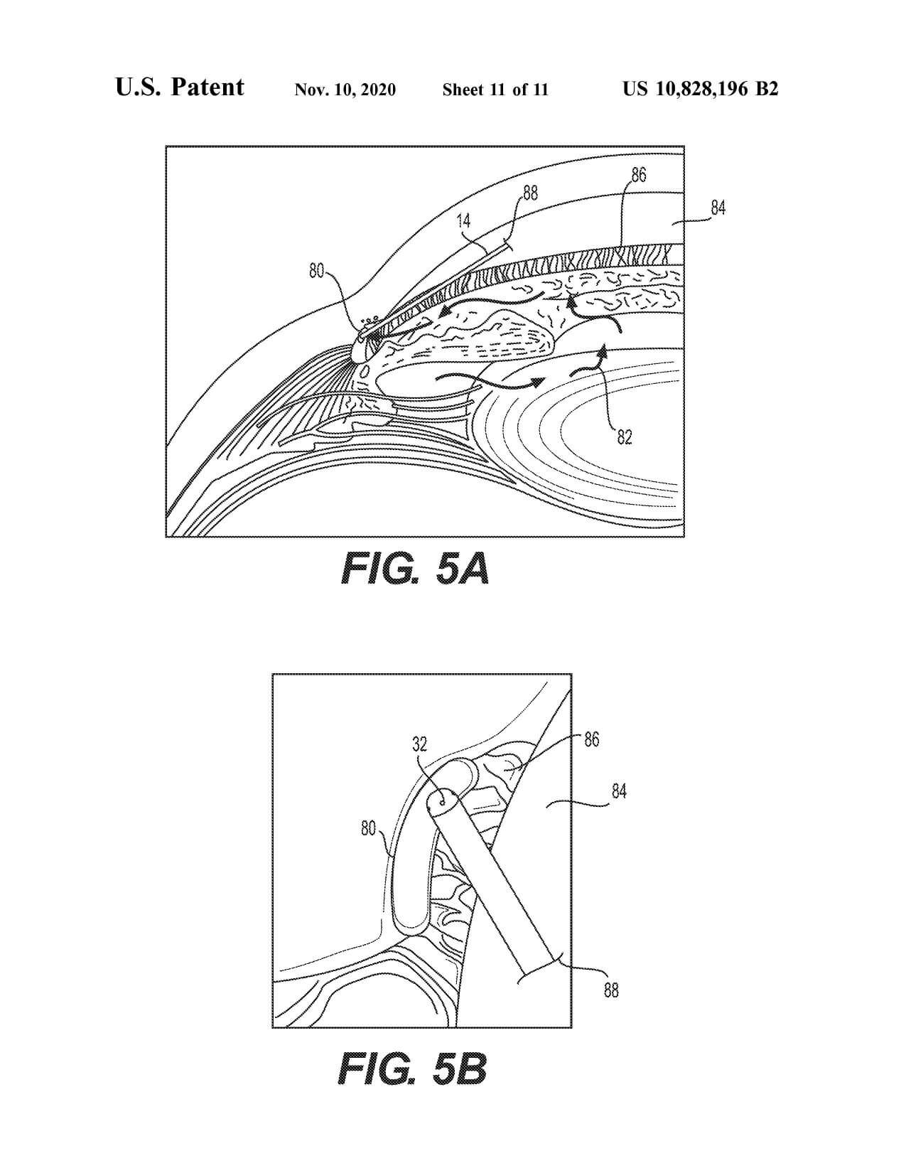
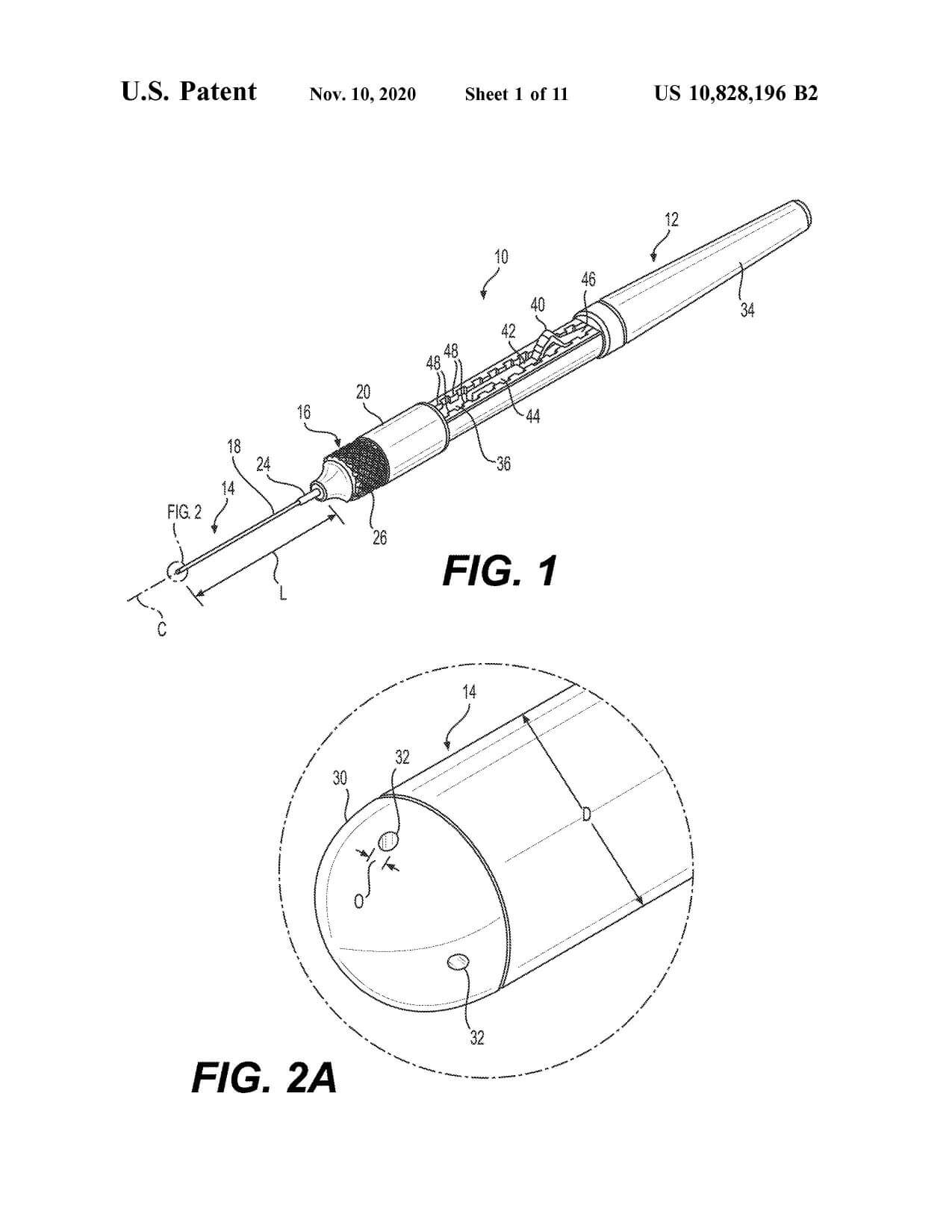
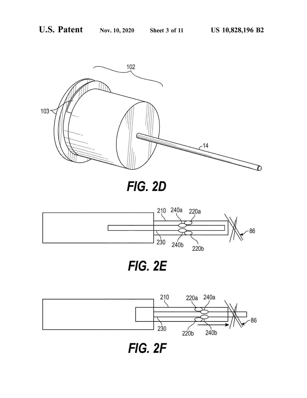
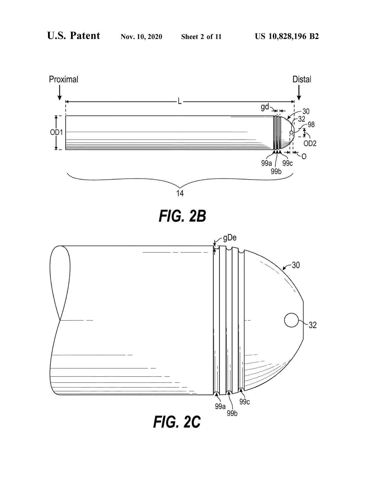
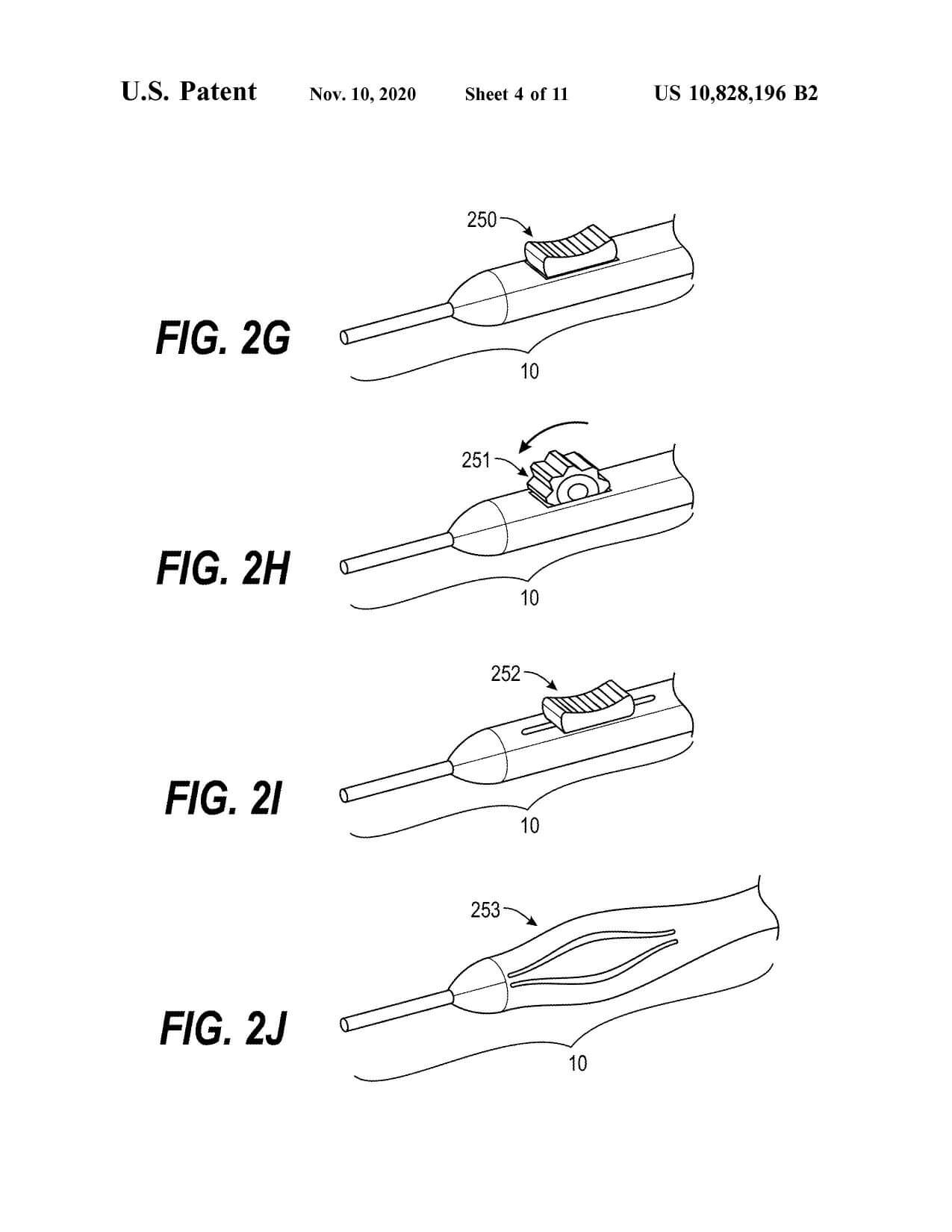
Granted on November 10, 2020

Patent No. 10,828,196

Ocular Treatment Devices and Related Methods of Use

INVENTORS

Malik Kahook, MD

Abstract

Apparatus and methods for ocular treatment are provided. The apparatus can comprise a microcannula having a proximal end, a distal end, a cavity, and a central longitudinal axis. The apparatus can include a handle coupled to the proximal end of the microcannula. The apparatus can include multiple orifices extending circumferentially about the microcannula distal end, each of the orifices defining a channel extending transverse to the central longitudinal axis, and one or more grooves about a circumference of the microcannula.

Patent Images

March 16, 2021 in Patents

Patent No. 10,945,883

Granted on March 16, 2021 Patent No. 10,945,883 Ocular Implants, Inserter Devices, and Methods for Insertion of Ocular Implant INVENTORS Malik Kahook, MD Eric Porteous Suhail Abdullah Joey Tran Daniel…
Read More
March 16, 2021 in Patents

Patent No. 10,946,145

Granted on March 16, 2021 Patent No. 10,946,145 Device for Intraocular Fluid Injection INVENTORS Vijay Balan Nico Slabber Abstract Devices and methods for intraocular fluid injection are disclosed. A device…
Read More
March 16, 2021 in Patents

Patent No. 10,945,885

Granted on March 16, 2021 Patent No. 10,945,885 Intraocular Device for Dual Incisions INVENTORS Malik Kahook, MD Abstract A microsurgical device and methods of its use can be used for…
Read More
November 10, 2020 in Patents

Patent No. 10,828,196

Granted on November 10, 2020 Patent No. 10,828,196 Ocular Treatment Devices and Related Methods of Use INVENTORS Malik Kahook, MD Abstract Apparatus and methods for ocular treatment are provided. The…
Read More

The post Patent No. 10,828,196 appeared first on New World Medical Patents & Product Launches.

]]>