Patents Archives - New World Medical Patents & Product Launches New World Medical Thu, 30 Mar 2023 23:13:24 +0000 en-US hourly 1 https://wordpress.org/?v=6.8.1 https://www.qr.newworldmedical.com/wp-content/uploads/2021/06/cropped-cropped-favicon-32x32-1-32x32.png Patents Archives - New World Medical Patents & Product Launches 32 32 Patent No. 10,945,883 https://www.qr.newworldmedical.com/us10945883/ Tue, 16 Mar 2021 22:38:08 +0000 https://www.qr.newworldmedical.com/?page_id=6958 The post Patent No. 10,945,883 appeared first on New World Medical Patents & Product Launches.

]]>

Granted on March 16, 2021

Patent No. 10,945,883

Ocular Implants, Inserter Devices, and Methods for Insertion of Ocular Implant

INVENTORS

Malik Kahook, MD

Eric Porteous

Suhail Abdullah

Joey Tran

Daniel Davis

Nathan Collins

Nico Slabber

Abstract

Intraocular drainage devices, intraocular implantation procedures, and inserter devices for intraocular implantation procedures are disclosure. A disclosed intraocular drainage device includes a tube having a distal end and a body disposed proximal to the tube. An inlet port is disposed on the distal end of the tube and configured to receive an influent fluid from an anterior chamber of an eye. An inlet fluid pathway is coupled to the inlet port and extends at least partially through the tube. A plurality of outlet fluid pathways extend at least partially through the body and branch from the inlet fluid pathway. A plurality of outlet ports are disposed on the body and coupled to the plurality of outlet fluid pathways. A disclosed inserter device for an ocular implantation procedure includes a handle, a needle, and a plunger. The needle is disposed on a distal end of the handle and configured to hold an intraocular drainage device. The plunger is coupled to the needle and disposed in the handle. The plunger is disposed distal to a vacuum chamber within the handle and configured to retract the needle based on a proximal force applied by the vacuum chamber.

Patent Images

March 16, 2021 in Patents

Patent No. 10,945,883

Granted on March 16, 2021 Patent No. 10,945,883 Ocular Implants, Inserter Devices, and Methods for Insertion of Ocular Implant INVENTORS Malik Kahook, MD Eric Porteous Suhail Abdullah Joey Tran Daniel…
Read More
March 16, 2021 in Patents

Patent No. 10,946,145

Granted on March 16, 2021 Patent No. 10,946,145 Device for Intraocular Fluid Injection INVENTORS Vijay Balan Nico Slabber Abstract Devices and methods for intraocular fluid injection are disclosed. A device…
Read More
March 16, 2021 in Patents

Patent No. 10,945,885

Granted on March 16, 2021 Patent No. 10,945,885 Intraocular Device for Dual Incisions INVENTORS Malik Kahook, MD Abstract A microsurgical device and methods of its use can be used for…
Read More
November 10, 2020 in Patents

Patent No. 10,828,196

Granted on November 10, 2020 Patent No. 10,828,196 Ocular Treatment Devices and Related Methods of Use INVENTORS Malik Kahook, MD Abstract Apparatus and methods for ocular treatment are provided. The…
Read More

The post Patent No. 10,945,883 appeared first on New World Medical Patents & Product Launches.

]]>
Patent No. 10,946,145 https://www.qr.newworldmedical.com/us10946145/ Tue, 16 Mar 2021 22:37:37 +0000 https://www.qr.newworldmedical.com/?page_id=6955 The post Patent No. 10,946,145 appeared first on New World Medical Patents & Product Launches.

]]>

Granted on March 16, 2021

Patent No. 10,946,145

Device for Intraocular Fluid Injection

INVENTORS

Vijay Balan

Nico Slabber

Abstract

Devices and methods for intraocular fluid injection are disclosed. A device can include a surgical instrument for an ophthalmic procedure. The surgical instrument can include a handle. A fluid compartment can be coupled to the handle and configured to hold a substance. A tool can be coupled to the distal end of the handle and have a lumen configured to convey the substance into an intraocular site of a patient. A piston can be in the handle and configured to reciprocate along the longitudinal axis of the handle to draw the substance from the fluid compartment and eject the substance through the lumen of the tool. A push button can be on the lateral side of the housing and configured to engage the piston via a sloped surface to actuate a forward stroke of the piston towards the distal end of the handle.

Patent Images

March 16, 2021 in Patents

Patent No. 10,945,883

Granted on March 16, 2021 Patent No. 10,945,883 Ocular Implants, Inserter Devices, and Methods for Insertion of Ocular Implant INVENTORS Malik Kahook, MD Eric Porteous Suhail Abdullah Joey Tran Daniel…
Read More
March 16, 2021 in Patents

Patent No. 10,946,145

Granted on March 16, 2021 Patent No. 10,946,145 Device for Intraocular Fluid Injection INVENTORS Vijay Balan Nico Slabber Abstract Devices and methods for intraocular fluid injection are disclosed. A device…
Read More
March 16, 2021 in Patents

Patent No. 10,945,885

Granted on March 16, 2021 Patent No. 10,945,885 Intraocular Device for Dual Incisions INVENTORS Malik Kahook, MD Abstract A microsurgical device and methods of its use can be used for…
Read More
November 10, 2020 in Patents

Patent No. 10,828,196

Granted on November 10, 2020 Patent No. 10,828,196 Ocular Treatment Devices and Related Methods of Use INVENTORS Malik Kahook, MD Abstract Apparatus and methods for ocular treatment are provided. The…
Read More

The post Patent No. 10,946,145 appeared first on New World Medical Patents & Product Launches.

]]>
Patent No. 10,945,885 https://www.qr.newworldmedical.com/us10945885/ Tue, 16 Mar 2021 22:36:21 +0000 https://www.qr.newworldmedical.com/?page_id=6948 The post Patent No. 10,945,885 appeared first on New World Medical Patents & Product Launches.

]]>

Granted on March 16, 2021

Patent No. 10,945,885

Intraocular Device for Dual Incisions

INVENTORS

Malik Kahook, MD

Abstract

A microsurgical device and methods of its use can be used for treatment of various conditions including eye diseases, such as glaucoma, using minimally invasive surgical techniques. A dual-blade device can be used for cutting the trabecular meshwork (“TM”) in the eye. The device tip provides entry into the Schlemm’s canal via its size (i.e., for example, 0.2-0.3 mm width) and configuration where a ramp elevates the TM away from the outer wall of the Schlemm’s canal and guides the TM to first and second lateral elements for creating first and second incisions through the TM. The dimensions and configuration of the blade is such that an entire strip of TM is removed without leaving TM leaflets behind and without causing collateral damage to adjacent tissues.

Patent Images

March 16, 2021 in Patents

Patent No. 10,945,883

Granted on March 16, 2021 Patent No. 10,945,883 Ocular Implants, Inserter Devices, and Methods for Insertion of Ocular Implant INVENTORS Malik Kahook, MD Eric Porteous Suhail Abdullah Joey Tran Daniel…
Read More
March 16, 2021 in Patents

Patent No. 10,946,145

Granted on March 16, 2021 Patent No. 10,946,145 Device for Intraocular Fluid Injection INVENTORS Vijay Balan Nico Slabber Abstract Devices and methods for intraocular fluid injection are disclosed. A device…
Read More
March 16, 2021 in Patents

Patent No. 10,945,885

Granted on March 16, 2021 Patent No. 10,945,885 Intraocular Device for Dual Incisions INVENTORS Malik Kahook, MD Abstract A microsurgical device and methods of its use can be used for…
Read More
November 10, 2020 in Patents

Patent No. 10,828,196

Granted on November 10, 2020 Patent No. 10,828,196 Ocular Treatment Devices and Related Methods of Use INVENTORS Malik Kahook, MD Abstract Apparatus and methods for ocular treatment are provided. The…
Read More

The post Patent No. 10,945,885 appeared first on New World Medical Patents & Product Launches.

]]>
Patent No. 10,828,196 https://www.qr.newworldmedical.com/us10828196/ Tue, 10 Nov 2020 22:38:17 +0000 https://www.qr.newworldmedical.com/?page_id=6942 The post Patent No. 10,828,196 appeared first on New World Medical Patents & Product Launches.

]]>

Granted on November 10, 2020

Patent No. 10,828,196

Ocular Treatment Devices and Related Methods of Use

INVENTORS

Malik Kahook, MD

Abstract

Apparatus and methods for ocular treatment are provided. The apparatus can comprise a microcannula having a proximal end, a distal end, a cavity, and a central longitudinal axis. The apparatus can include a handle coupled to the proximal end of the microcannula. The apparatus can include multiple orifices extending circumferentially about the microcannula distal end, each of the orifices defining a channel extending transverse to the central longitudinal axis, and one or more grooves about a circumference of the microcannula.

Patent Images

March 16, 2021 in Patents

Patent No. 10,945,883

Granted on March 16, 2021 Patent No. 10,945,883 Ocular Implants, Inserter Devices, and Methods for Insertion of Ocular Implant INVENTORS Malik Kahook, MD Eric Porteous Suhail Abdullah Joey Tran Daniel…
Read More
March 16, 2021 in Patents

Patent No. 10,946,145

Granted on March 16, 2021 Patent No. 10,946,145 Device for Intraocular Fluid Injection INVENTORS Vijay Balan Nico Slabber Abstract Devices and methods for intraocular fluid injection are disclosed. A device…
Read More
March 16, 2021 in Patents

Patent No. 10,945,885

Granted on March 16, 2021 Patent No. 10,945,885 Intraocular Device for Dual Incisions INVENTORS Malik Kahook, MD Abstract A microsurgical device and methods of its use can be used for…
Read More
November 10, 2020 in Patents

Patent No. 10,828,196

Granted on November 10, 2020 Patent No. 10,828,196 Ocular Treatment Devices and Related Methods of Use INVENTORS Malik Kahook, MD Abstract Apparatus and methods for ocular treatment are provided. The…
Read More

The post Patent No. 10,828,196 appeared first on New World Medical Patents & Product Launches.

]]>
Patent No. 10,786,391 https://www.qr.newworldmedical.com/us10786391/ Tue, 29 Sep 2020 22:37:16 +0000 https://www.qr.newworldmedical.com/?page_id=6953 The post Patent No. 10,786,391 appeared first on New World Medical Patents & Product Launches.

]]>

Granted on September 29, 2020

Patent No. 10,786,391

Intraocular Device for Dual Incisions

INVENTORS

Malik Kahook, MD

Abstract

A microsurgical device and methods of its use can be used for treatment of various conditions including eye diseases, such as glaucoma, using minimally invasive surgical techniques. A dual-blade device can be used for cutting the trabecular meshwork (“TM”) in the eye. The device tip provides entry into the Schlemm’s canal via its size (i.e., for example, 0.2-0.3 mm width) and configuration where a ramp elevates the TM away from the outer wall of the Schlemm’s canal and guides the TM to first and second lateral elements for creating first and second incisions through the TM. The dimensions and configuration of the blade is such that an entire strip of TM is removed without leaving TM leaflets behind and without causing collateral damage to adjacent tissues.

Patent Images

March 16, 2021 in Patents

Patent No. 10,945,883

Granted on March 16, 2021 Patent No. 10,945,883 Ocular Implants, Inserter Devices, and Methods for Insertion of Ocular Implant INVENTORS Malik Kahook, MD Eric Porteous Suhail Abdullah Joey Tran Daniel…
Read More
March 16, 2021 in Patents

Patent No. 10,946,145

Granted on March 16, 2021 Patent No. 10,946,145 Device for Intraocular Fluid Injection INVENTORS Vijay Balan Nico Slabber Abstract Devices and methods for intraocular fluid injection are disclosed. A device…
Read More
March 16, 2021 in Patents

Patent No. 10,945,885

Granted on March 16, 2021 Patent No. 10,945,885 Intraocular Device for Dual Incisions INVENTORS Malik Kahook, MD Abstract A microsurgical device and methods of its use can be used for…
Read More
November 10, 2020 in Patents

Patent No. 10,828,196

Granted on November 10, 2020 Patent No. 10,828,196 Ocular Treatment Devices and Related Methods of Use INVENTORS Malik Kahook, MD Abstract Apparatus and methods for ocular treatment are provided. The…
Read More

The post Patent No. 10,786,391 appeared first on New World Medical Patents & Product Launches.

]]>
Patent No. 10,779,991 https://www.qr.newworldmedical.com/us10779991/ Tue, 22 Sep 2020 22:37:25 +0000 https://www.qr.newworldmedical.com/?page_id=6954 The post Patent No. 10,779,991 appeared first on New World Medical Patents & Product Launches.

]]>

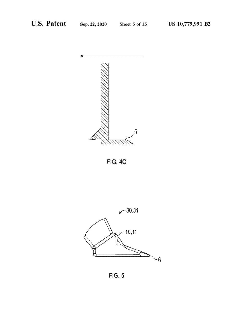
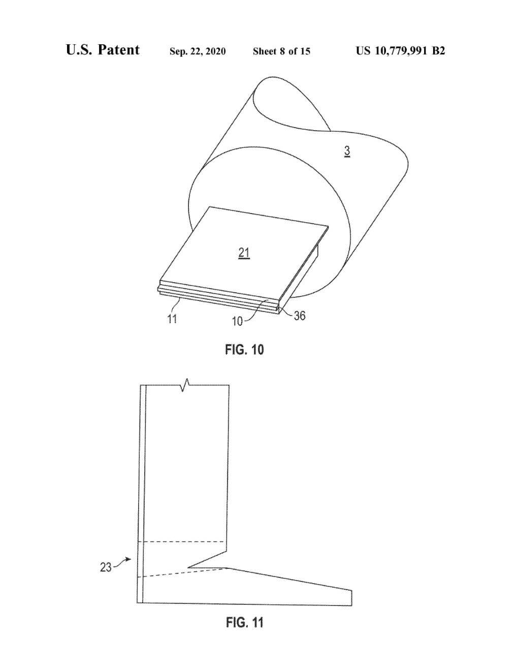
Granted on September 22, 2020

Patent No. 10,779,991

Ophthalmic Knife and Methods of Use

INVENTORS

Malik Kahook, MD

Suhail Abdullah

Khalid Mansour

Eric Porteous

Vijay Balan

Abstract

The present invention relates to an ophthalmic knife and methods of its use for treatment of various conditions including eye diseases, such as glaucoma, using minimally invasive surgical techniques. The invention relates to a multi-blade device for cutting the tissues within the eye, for example, a trabecular meshwork (TM).

Patent Images

March 16, 2021 in Patents

Patent No. 10,945,883

Granted on March 16, 2021 Patent No. 10,945,883 Ocular Implants, Inserter Devices, and Methods for Insertion of Ocular Implant INVENTORS Malik Kahook, MD Eric Porteous Suhail Abdullah Joey Tran Daniel…
Read More
March 16, 2021 in Patents

Patent No. 10,946,145

Granted on March 16, 2021 Patent No. 10,946,145 Device for Intraocular Fluid Injection INVENTORS Vijay Balan Nico Slabber Abstract Devices and methods for intraocular fluid injection are disclosed. A device…
Read More
March 16, 2021 in Patents

Patent No. 10,945,885

Granted on March 16, 2021 Patent No. 10,945,885 Intraocular Device for Dual Incisions INVENTORS Malik Kahook, MD Abstract A microsurgical device and methods of its use can be used for…
Read More
November 10, 2020 in Patents

Patent No. 10,828,196

Granted on November 10, 2020 Patent No. 10,828,196 Ocular Treatment Devices and Related Methods of Use INVENTORS Malik Kahook, MD Abstract Apparatus and methods for ocular treatment are provided. The…
Read More

The post Patent No. 10,779,991 appeared first on New World Medical Patents & Product Launches.

]]>
Patent No. 10,729,584 https://www.qr.newworldmedical.com/us10729584/ Tue, 04 Aug 2020 22:38:01 +0000 https://www.qr.newworldmedical.com/?page_id=6957 The post Patent No. 10,729,584 appeared first on New World Medical Patents & Product Launches.

]]>

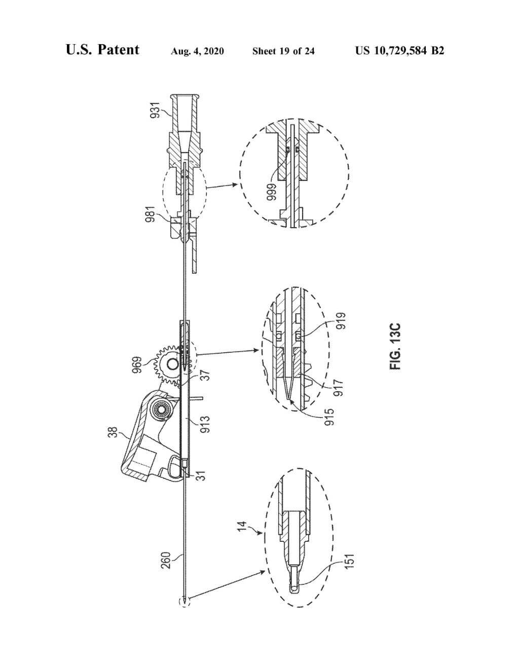
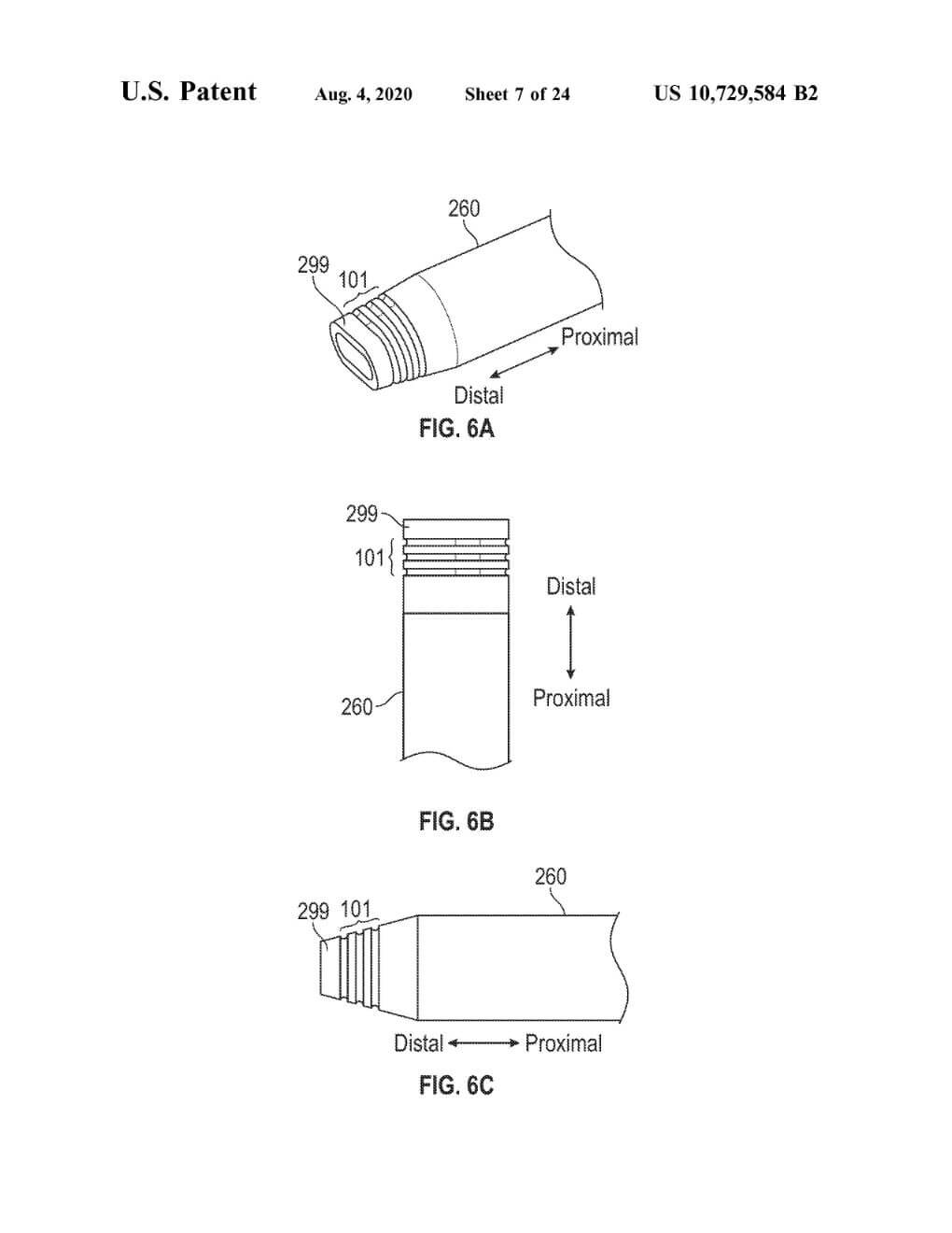
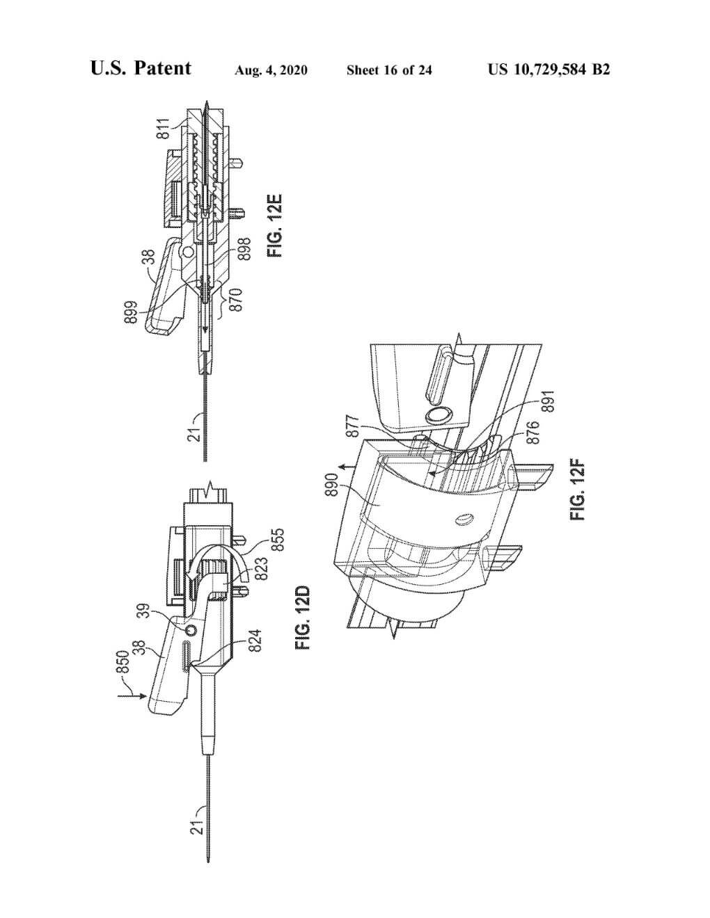
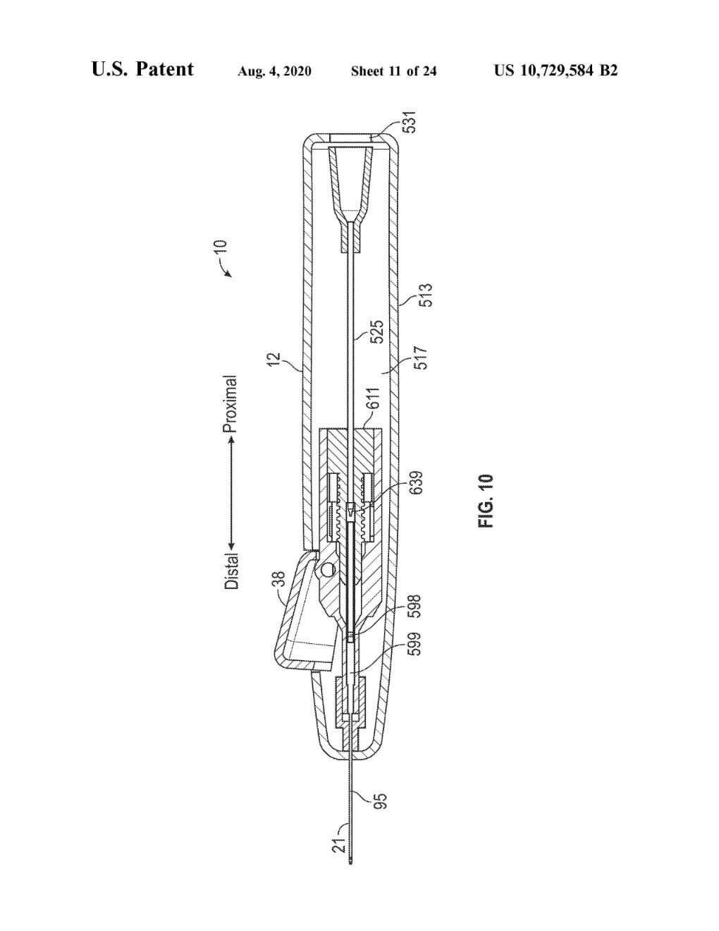
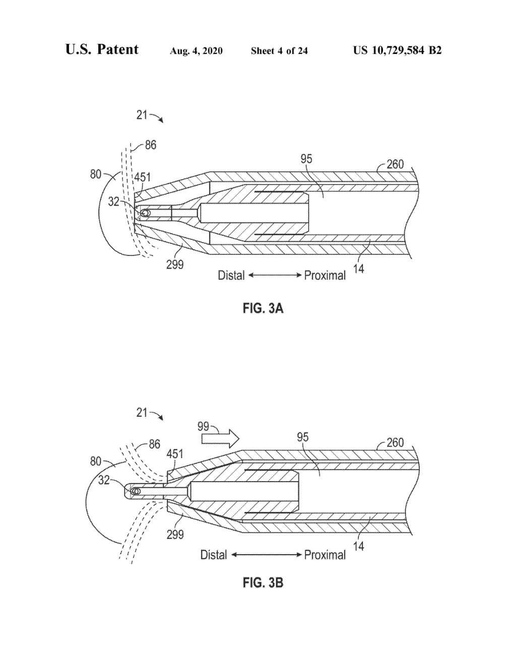
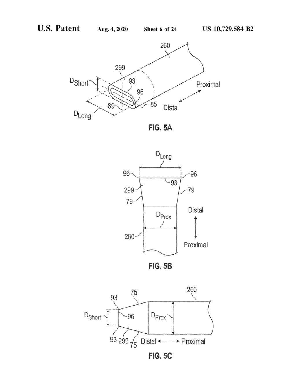
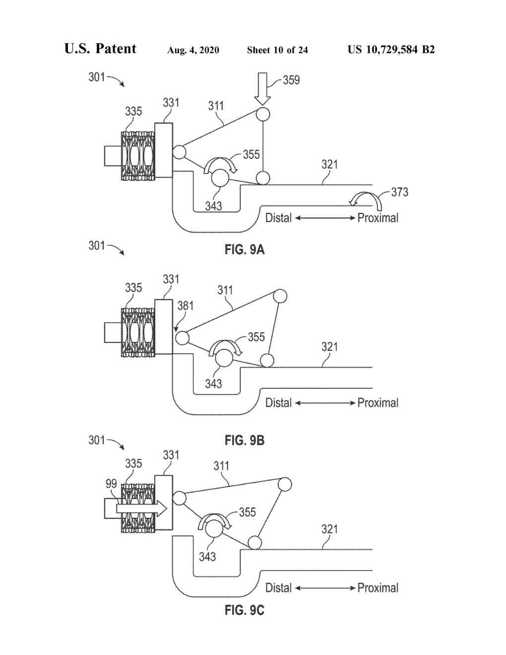
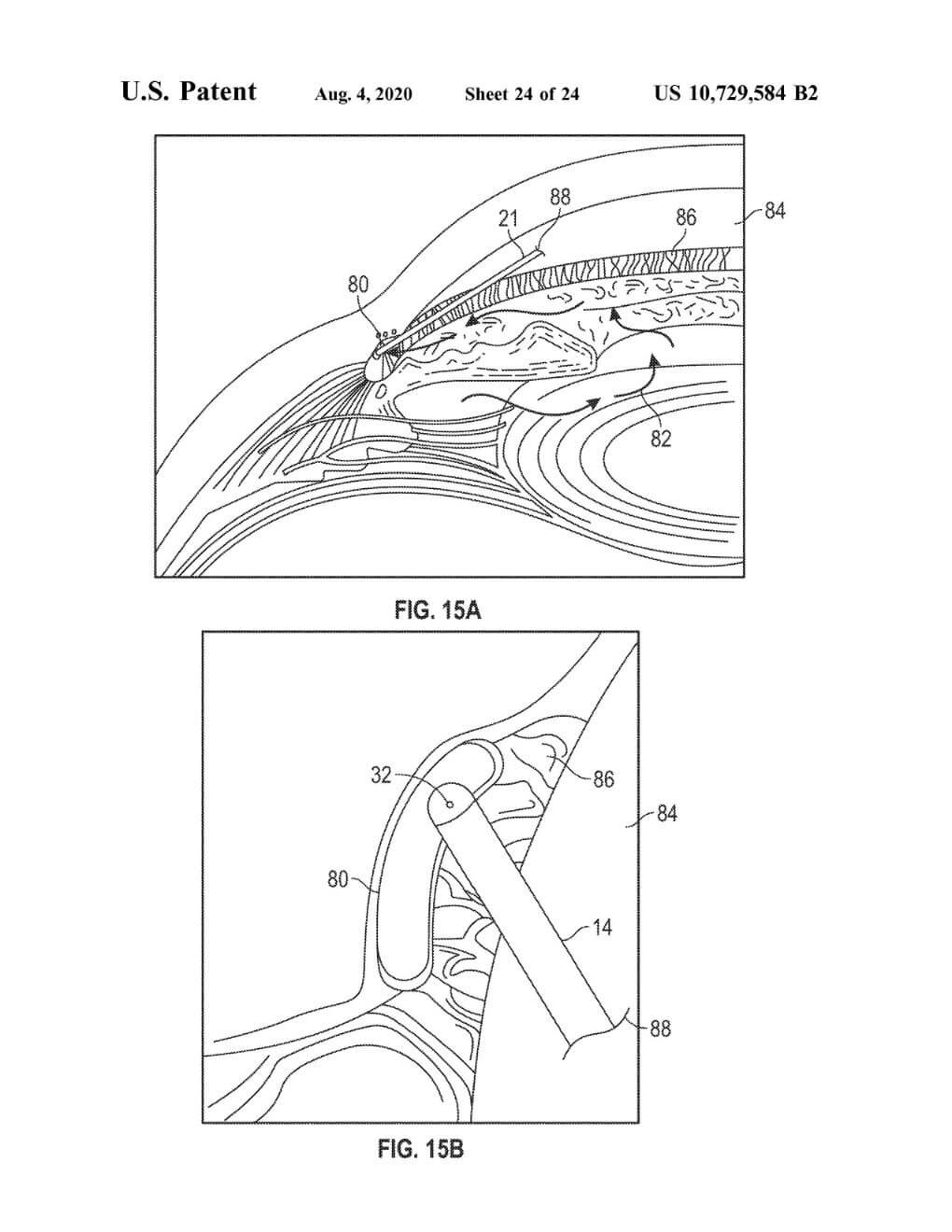
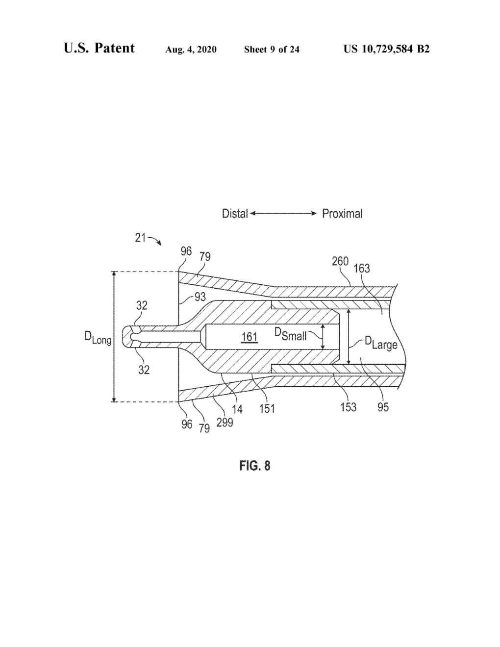
Granted on August 4, 2020

Patent No. 10,729,584

Ophthalmic Device

INVENTORS

Malik Kahook, MD

Eric Porteous

Carlos Mendoza

Abstract

An ophthalmic device including a cannula having a cannula distal end, a lumen, and one or more orifices coupled to the lumen is provided. The cannula is configured to deliver a fluid. A sleeve is disposed around the cannula and has a sleeve distal end. A handle is coupled to the sleeve and the cannula, the handle having an actuator. An internal mechanism is coupled to the actuator and configured to retract the sleeve relative to the cannula. The internal mechanism includes a follower fixedly coupled to the sleeve and moveable between distal and proximal positions, and a release member movable between an activated position and a release position. The release member is coupled to the actuator and configured to release a force that urges the follower from the distal position to the proximal position when the release member moves from the activated position to the release position.

Patent Images

March 16, 2021 in Patents

Patent No. 10,945,883

Granted on March 16, 2021 Patent No. 10,945,883 Ocular Implants, Inserter Devices, and Methods for Insertion of Ocular Implant INVENTORS Malik Kahook, MD Eric Porteous Suhail Abdullah Joey Tran Daniel…
Read More
March 16, 2021 in Patents

Patent No. 10,946,145

Granted on March 16, 2021 Patent No. 10,946,145 Device for Intraocular Fluid Injection INVENTORS Vijay Balan Nico Slabber Abstract Devices and methods for intraocular fluid injection are disclosed. A device…
Read More
March 16, 2021 in Patents

Patent No. 10,945,885

Granted on March 16, 2021 Patent No. 10,945,885 Intraocular Device for Dual Incisions INVENTORS Malik Kahook, MD Abstract A microsurgical device and methods of its use can be used for…
Read More
November 10, 2020 in Patents

Patent No. 10,828,196

Granted on November 10, 2020 Patent No. 10,828,196 Ocular Treatment Devices and Related Methods of Use INVENTORS Malik Kahook, MD Abstract Apparatus and methods for ocular treatment are provided. The…
Read More

The post Patent No. 10,729,584 appeared first on New World Medical Patents & Product Launches.

]]>
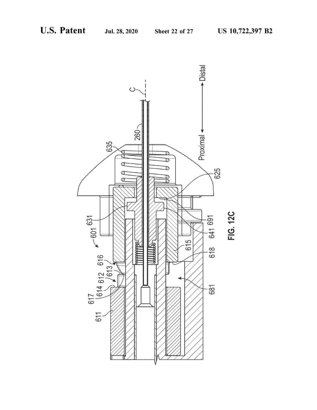
Patent No. 10,722,397 https://www.qr.newworldmedical.com/us10722397/ Tue, 28 Jul 2020 22:37:51 +0000 https://www.qr.newworldmedical.com/?page_id=6956 The post Patent No. 10,722,397 appeared first on New World Medical Patents & Product Launches.

]]>

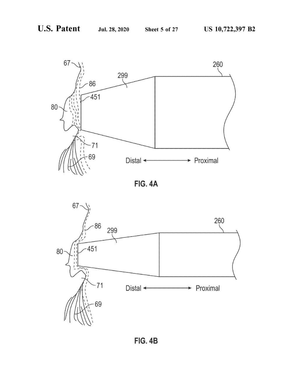
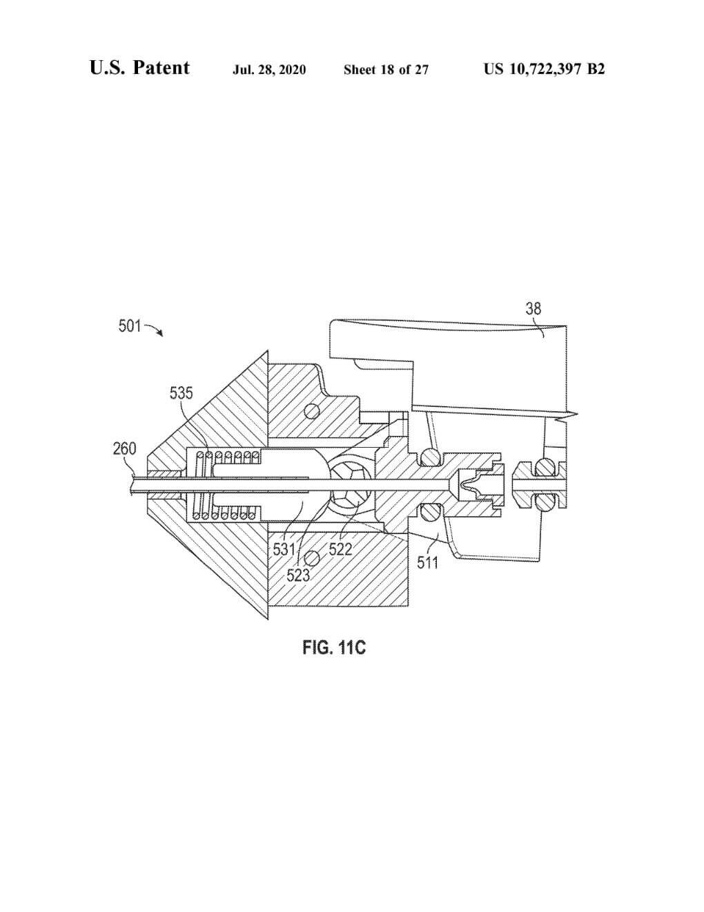
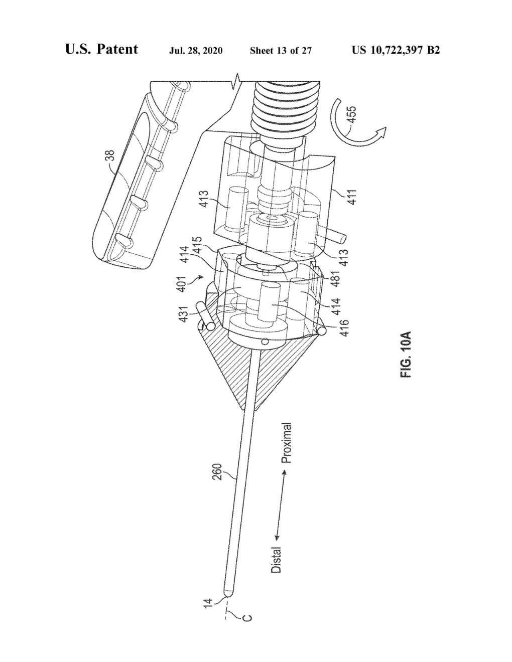
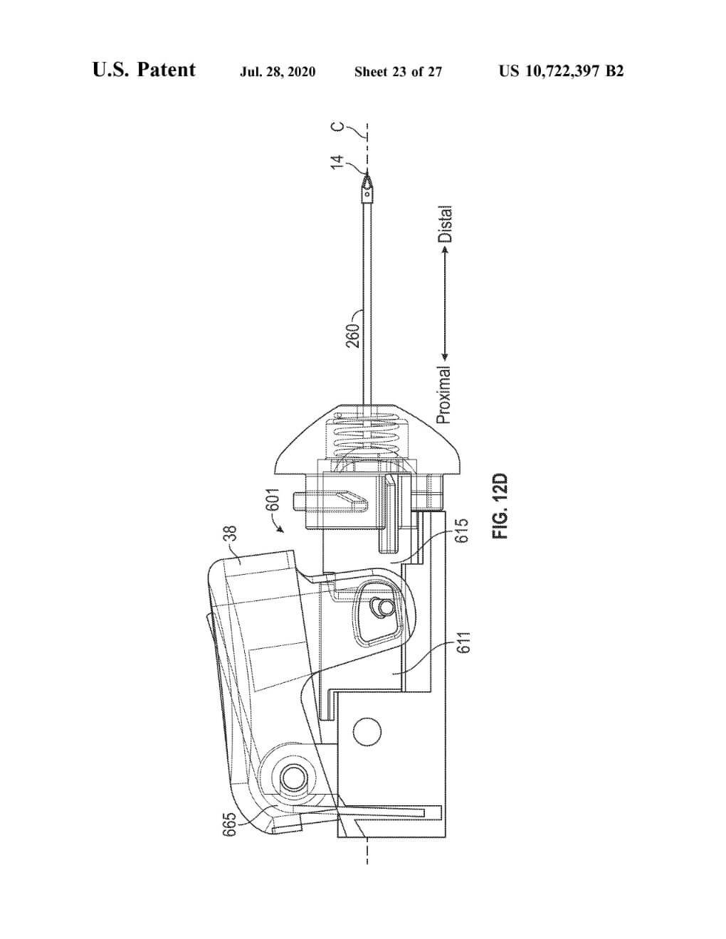
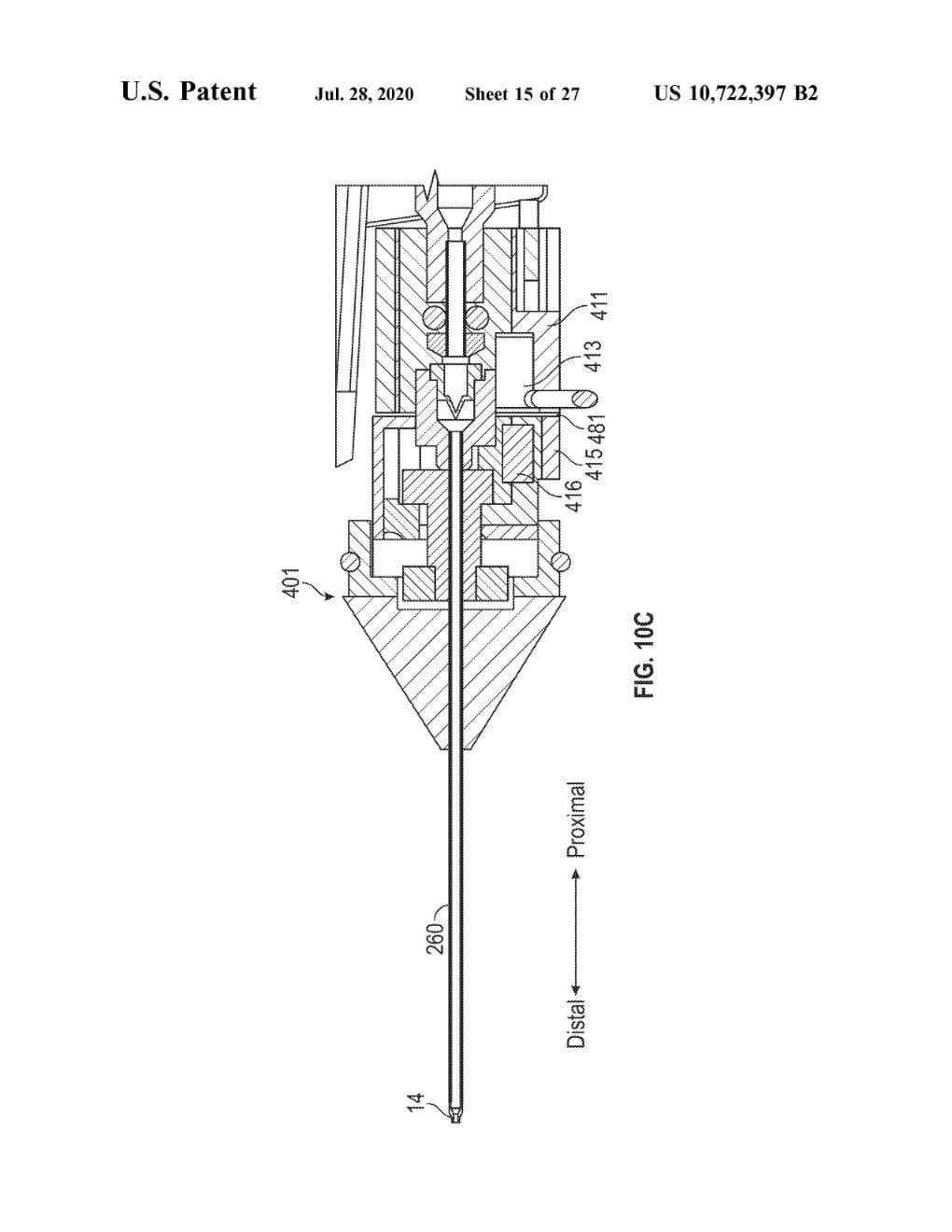
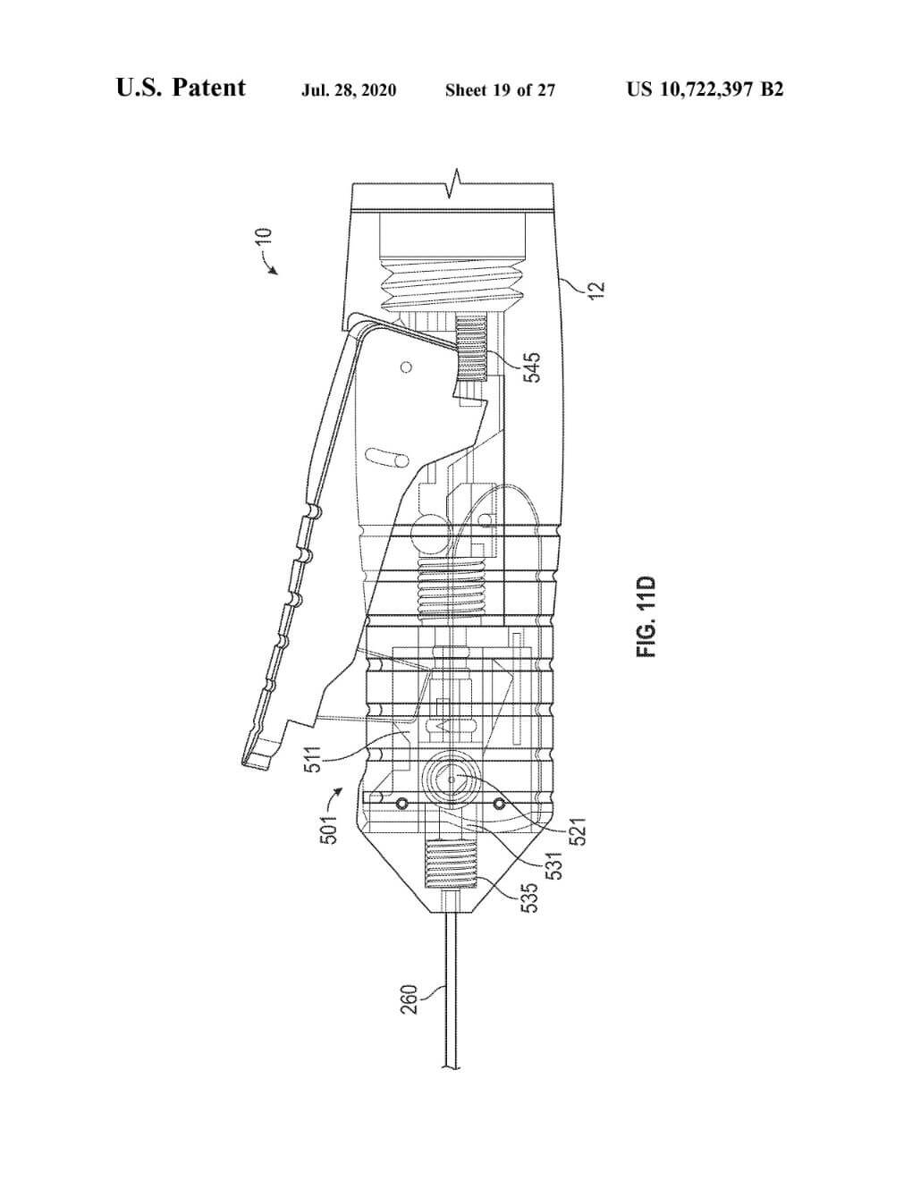
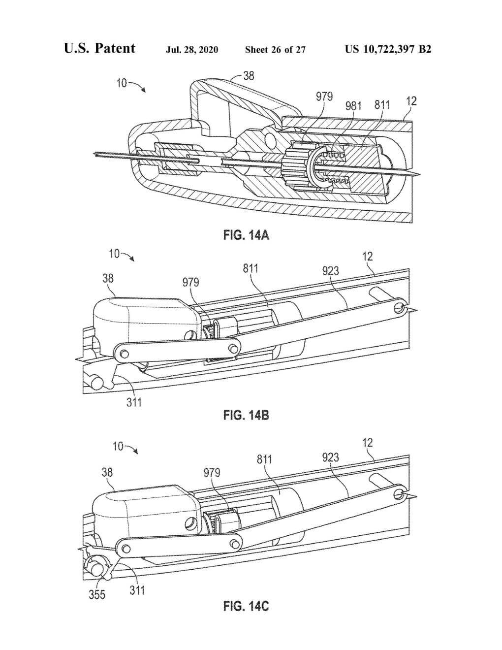
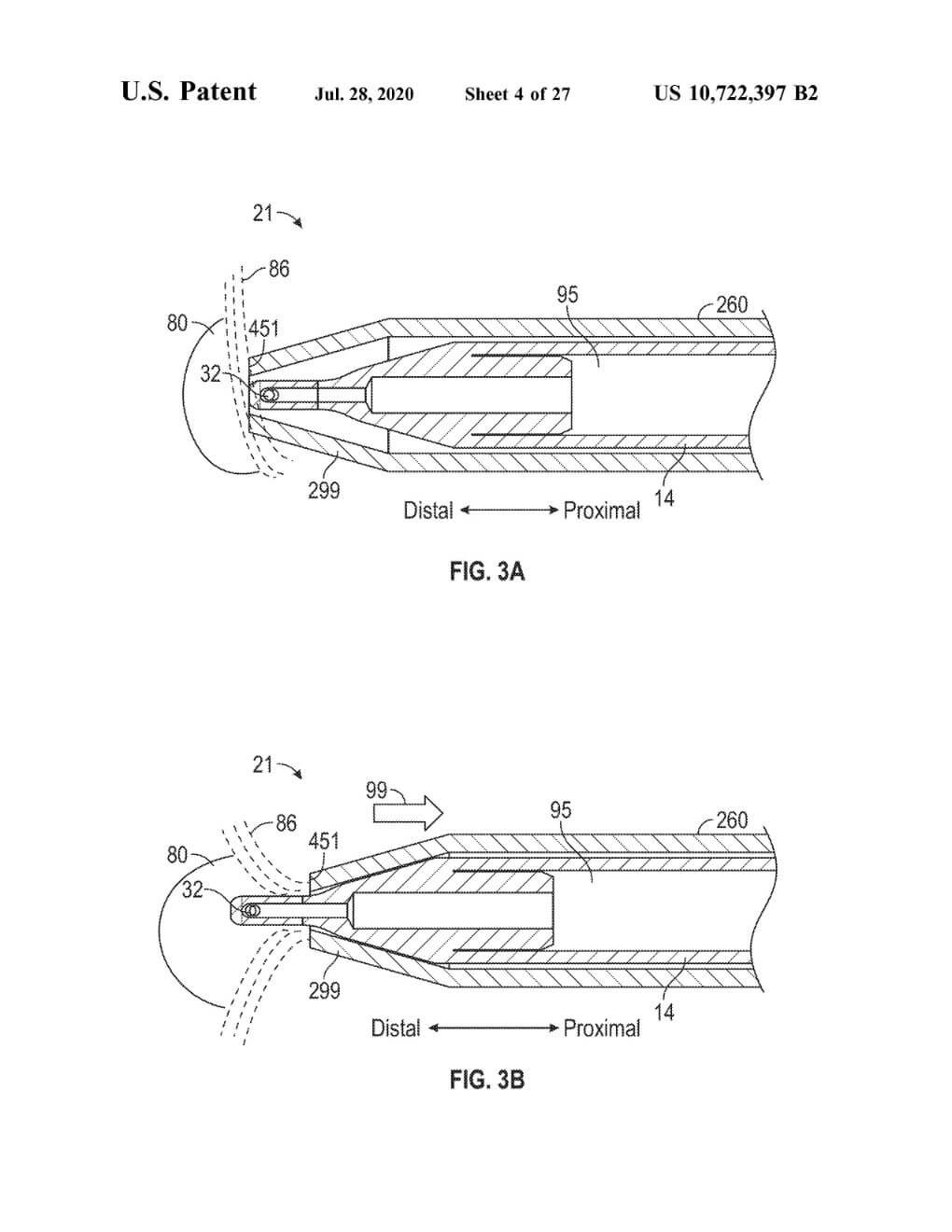
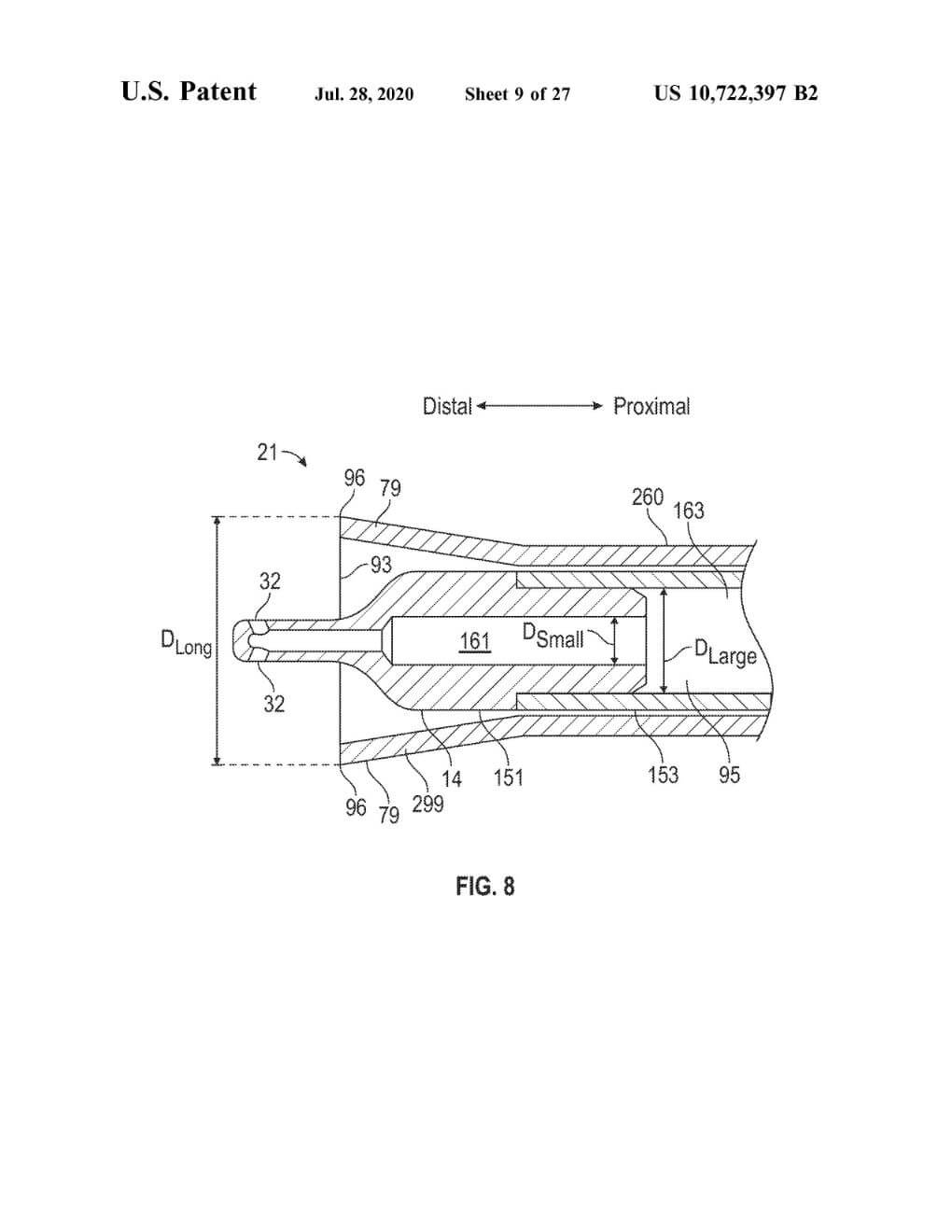
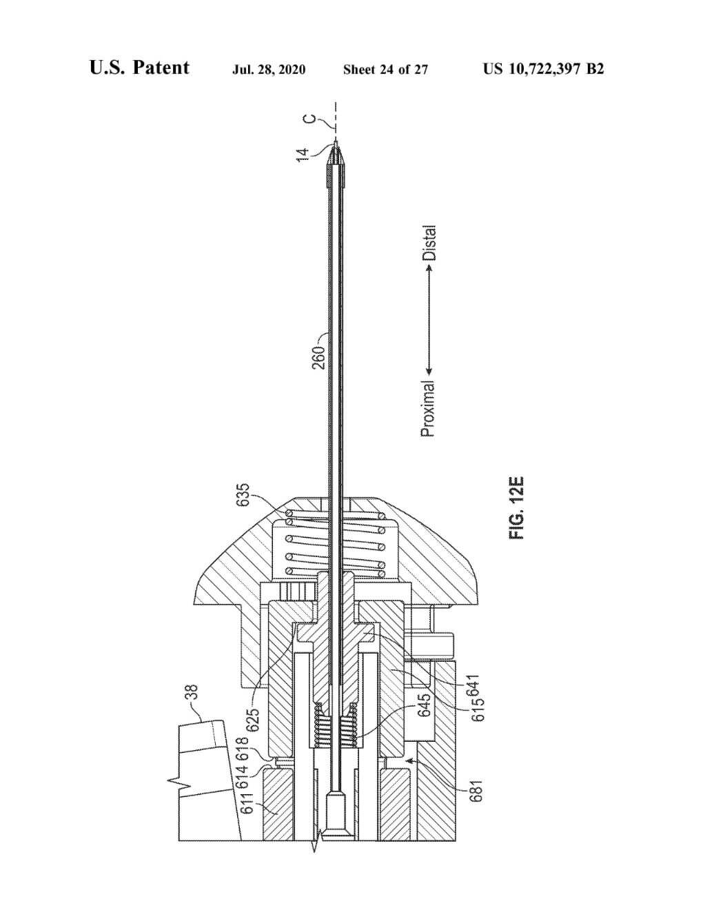
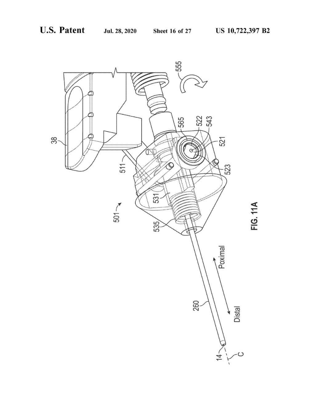
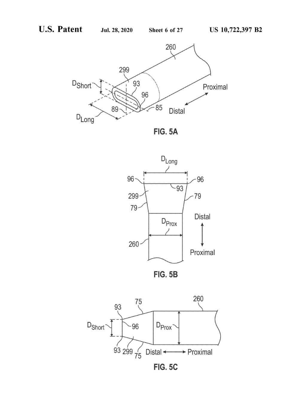
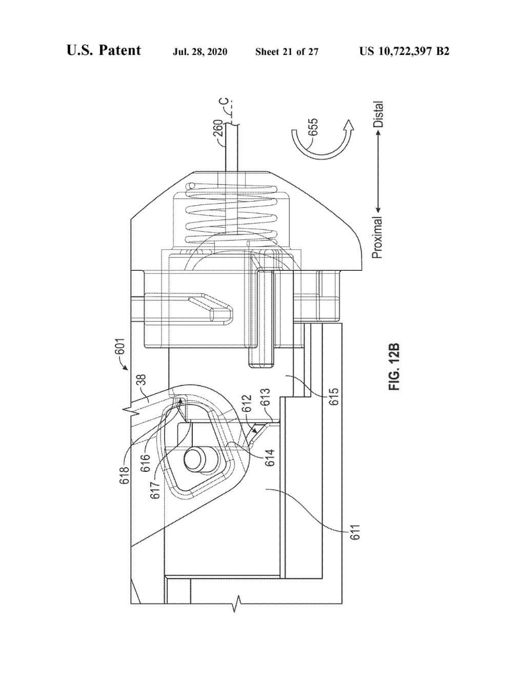
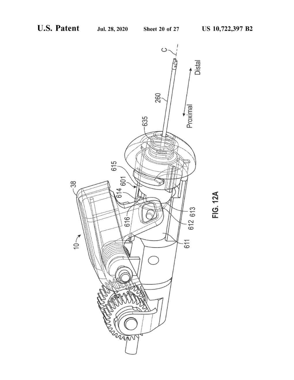
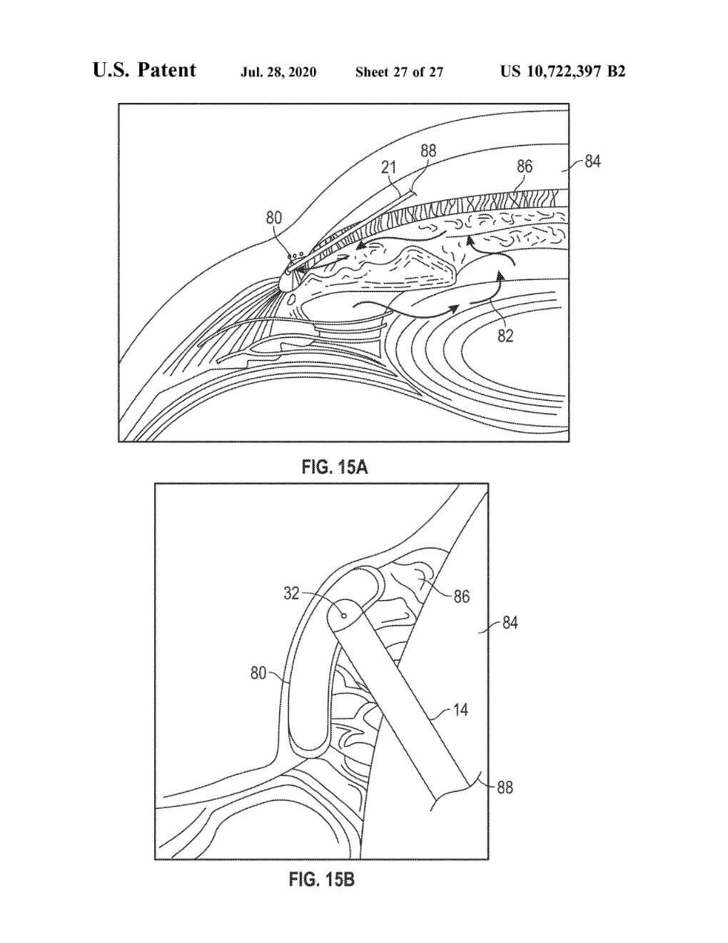
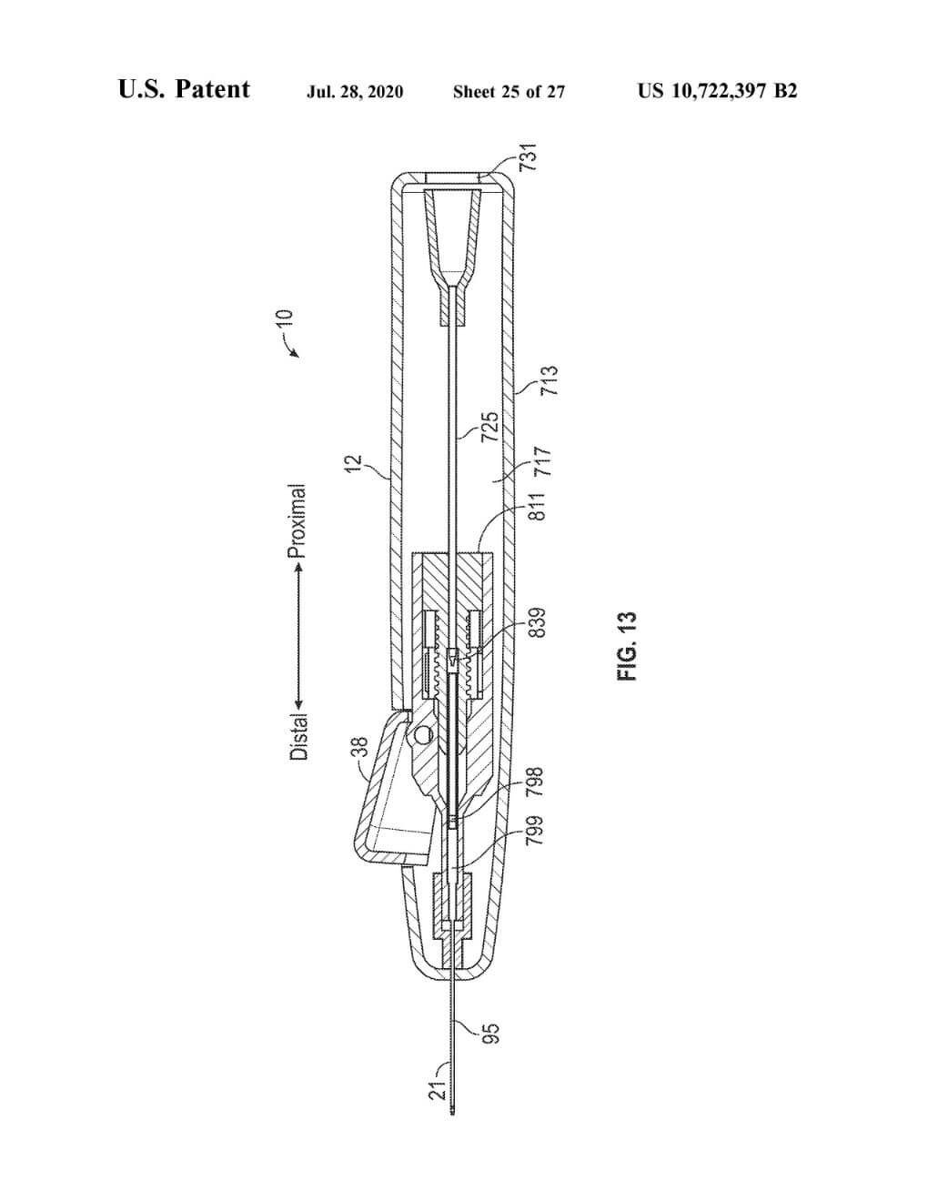
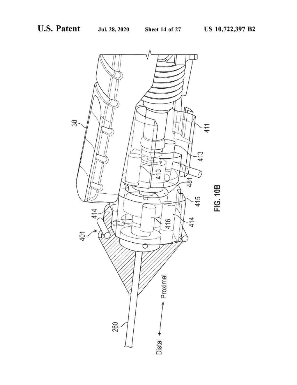
Granted on July 28, 2020

Patent No. 10,722,397

Ophthalmic Device

INVENTORS

Malik Kahook, MD

Eric Porteous

Carlos Mendoza

Abstract

An ophthalmic device including a cannula having a cannula distal end, a lumen, and one or more orifices coupled to the lumen is provided. The cannula is configured to deliver a fluid. A sleeve is disposed around the cannula and has a sleeve distal end. A handle is coupled to the sleeve and the cannula, the handle having an actuator. An internal mechanism is coupled to the actuator and configured to retract the sleeve relative to the cannula. The internal mechanism includes a follower fixedly coupled to the sleeve and moveable between distal and proximal positions, and a release member movable between an activated position and a release position. The release member is coupled to the actuator and configured to release a force that urges the follower from the distal position to the proximal position when the release member moves from the activated position to the release position.

Patent Images

March 16, 2021 in Patents

Patent No. 10,945,883

Granted on March 16, 2021 Patent No. 10,945,883 Ocular Implants, Inserter Devices, and Methods for Insertion of Ocular Implant INVENTORS Malik Kahook, MD Eric Porteous Suhail Abdullah Joey Tran Daniel…
Read More
March 16, 2021 in Patents

Patent No. 10,946,145

Granted on March 16, 2021 Patent No. 10,946,145 Device for Intraocular Fluid Injection INVENTORS Vijay Balan Nico Slabber Abstract Devices and methods for intraocular fluid injection are disclosed. A device…
Read More
March 16, 2021 in Patents

Patent No. 10,945,885

Granted on March 16, 2021 Patent No. 10,945,885 Intraocular Device for Dual Incisions INVENTORS Malik Kahook, MD Abstract A microsurgical device and methods of its use can be used for…
Read More
November 10, 2020 in Patents

Patent No. 10,828,196

Granted on November 10, 2020 Patent No. 10,828,196 Ocular Treatment Devices and Related Methods of Use INVENTORS Malik Kahook, MD Abstract Apparatus and methods for ocular treatment are provided. The…
Read More

The post Patent No. 10,722,397 appeared first on New World Medical Patents & Product Launches.

]]>
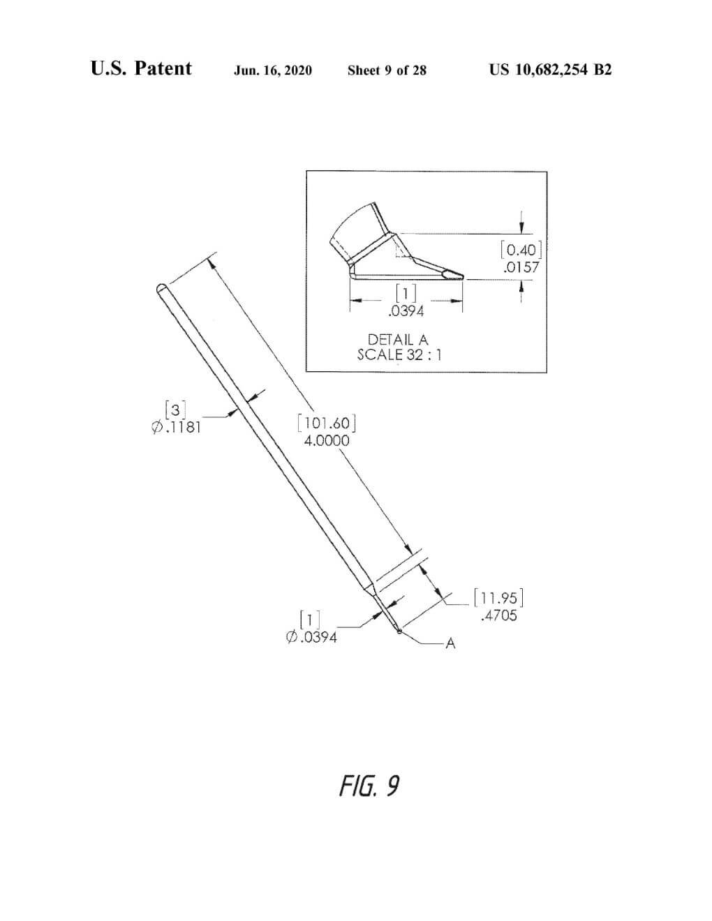
Patent No. 10,682,254 https://www.qr.newworldmedical.com/us10682254/ Tue, 16 Jun 2020 22:36:15 +0000 https://www.qr.newworldmedical.com/?page_id=6947 The post Patent No. 10,682,254 appeared first on New World Medical Patents & Product Launches.

]]>

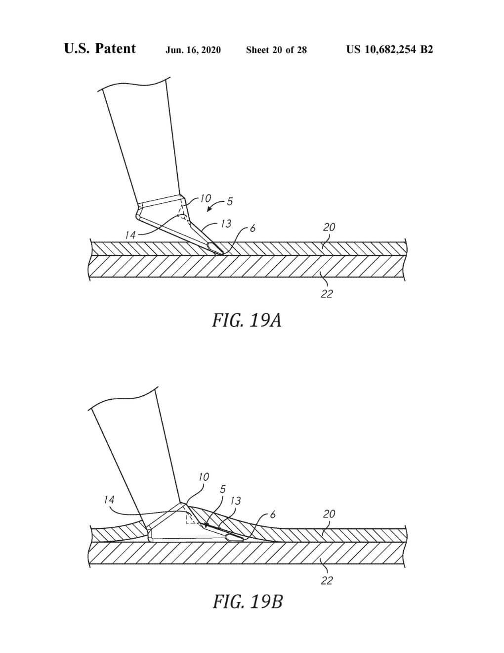
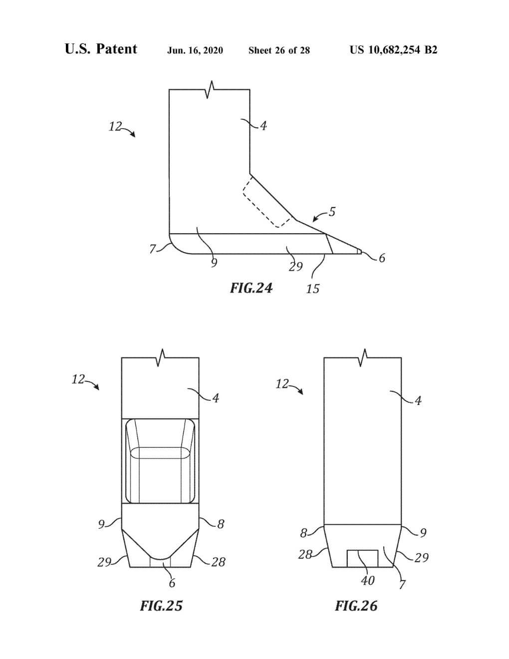
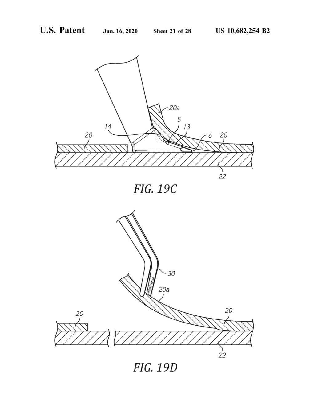
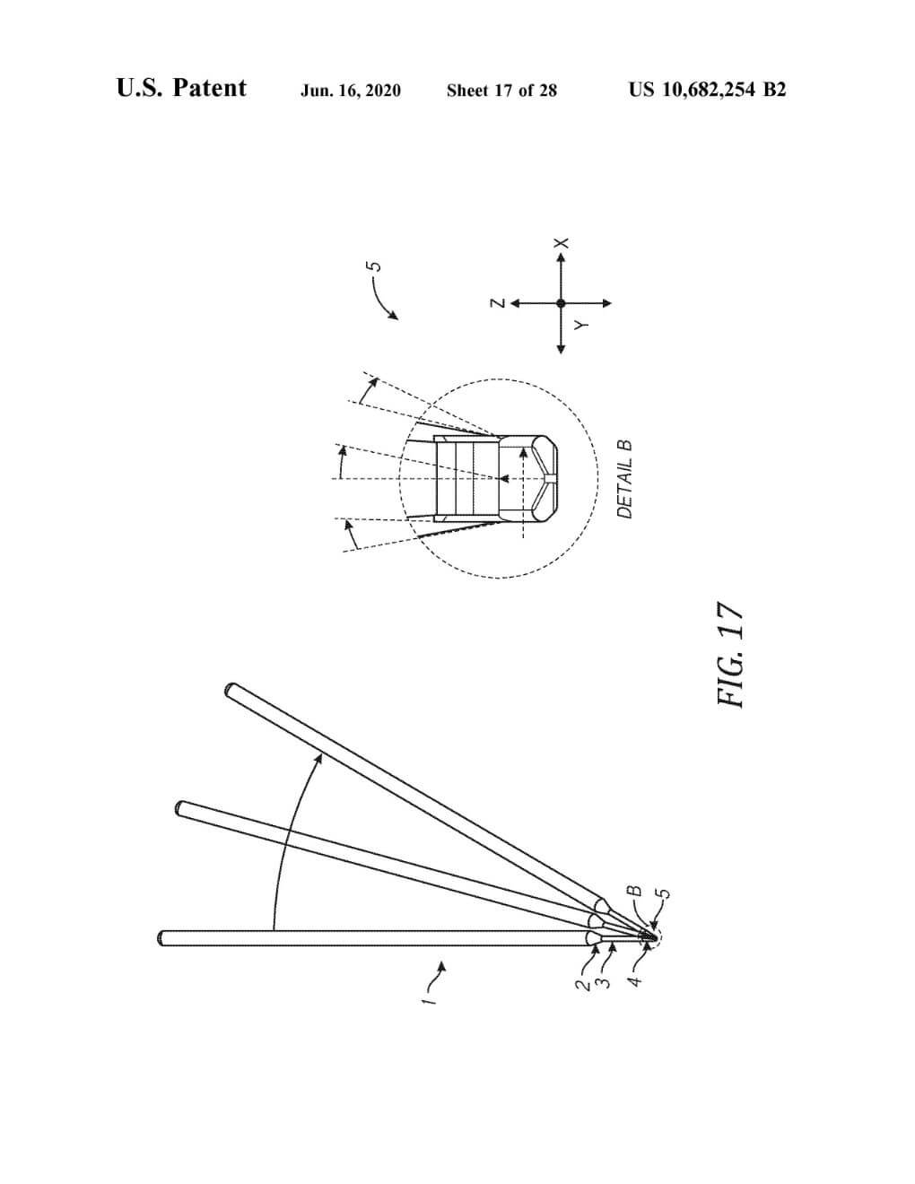
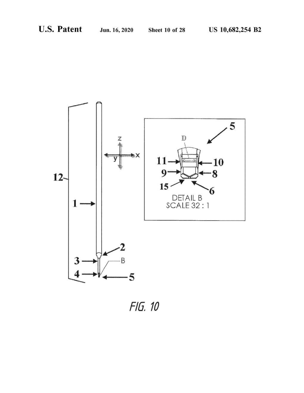
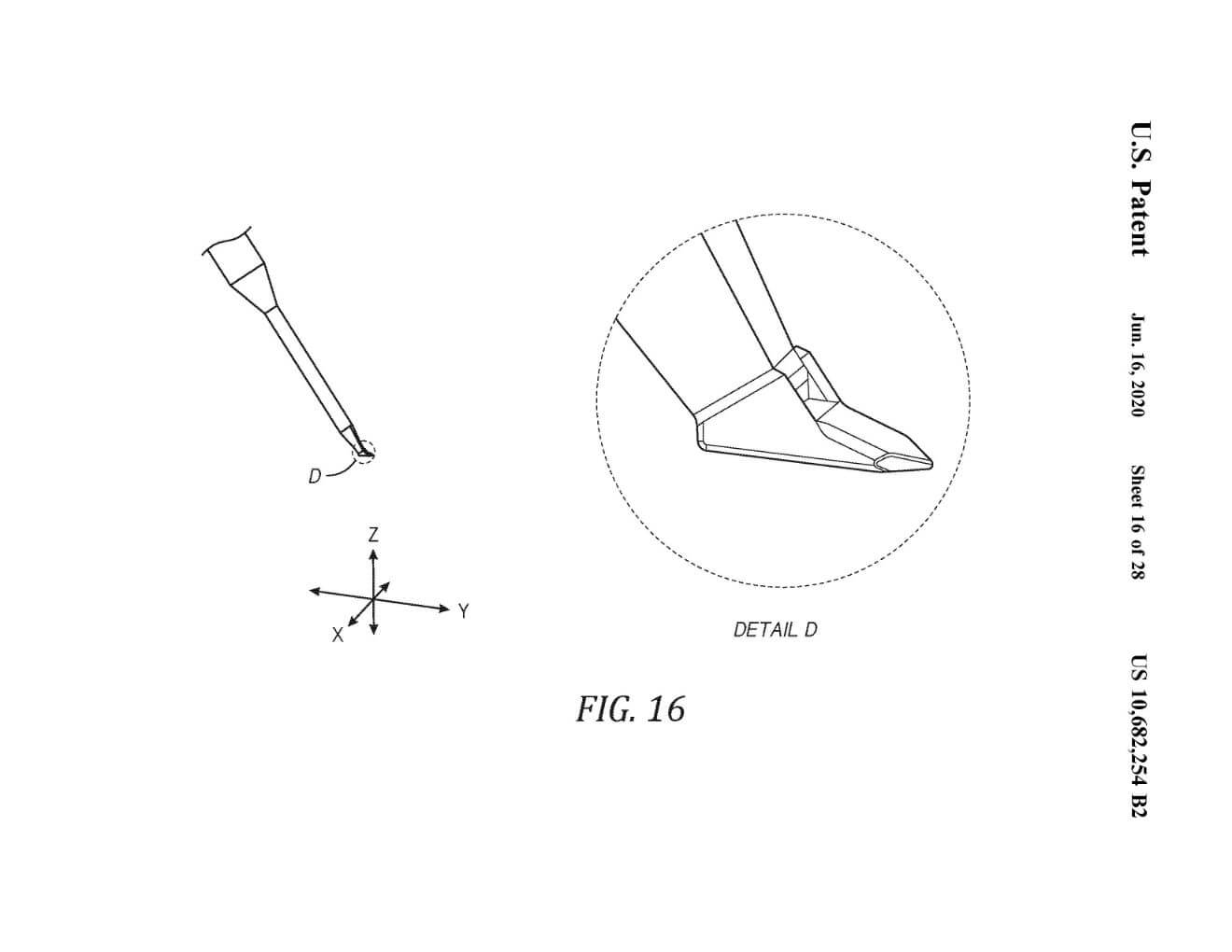
Granted on June 16, 2020

Patent No. 10,682,254

Intraocular Device for Dual Incisions

INVENTORS

Malik Kahook, MD

Abstract

A microsurgical device and methods of its use can be used for treatment of various conditions including eye diseases, such as glaucoma, using minimally invasive surgical techniques. A dual-blade device can be used for cutting the trabecular meshwork (“TM”) in the eye. The device tip provides entry into the Schlemm’s canal via its size (i.e., for example, 0.2-0.3 mm width) and configuration where a ramp elevates the TM away from the outer wall of the Schlemm’s canal and guides the TM to first and second lateral elements for creating first and second incisions through the TM. The dimensions and configuration of the blade is such that an entire strip of TM is removed without leaving TM leaflets behind and without causing collateral damage to adjacent tissues.

Patent Images

March 16, 2021 in Patents

Patent No. 10,945,883

Granted on March 16, 2021 Patent No. 10,945,883 Ocular Implants, Inserter Devices, and Methods for Insertion of Ocular Implant INVENTORS Malik Kahook, MD Eric Porteous Suhail Abdullah Joey Tran Daniel…
Read More
March 16, 2021 in Patents

Patent No. 10,946,145

Granted on March 16, 2021 Patent No. 10,946,145 Device for Intraocular Fluid Injection INVENTORS Vijay Balan Nico Slabber Abstract Devices and methods for intraocular fluid injection are disclosed. A device…
Read More
March 16, 2021 in Patents

Patent No. 10,945,885

Granted on March 16, 2021 Patent No. 10,945,885 Intraocular Device for Dual Incisions INVENTORS Malik Kahook, MD Abstract A microsurgical device and methods of its use can be used for…
Read More
November 10, 2020 in Patents

Patent No. 10,828,196

Granted on November 10, 2020 Patent No. 10,828,196 Ocular Treatment Devices and Related Methods of Use INVENTORS Malik Kahook, MD Abstract Apparatus and methods for ocular treatment are provided. The…
Read More

The post Patent No. 10,682,254 appeared first on New World Medical Patents & Product Launches.

]]>
Patent No. 10,653,558 https://www.qr.newworldmedical.com/us10653558/ Tue, 19 May 2020 22:36:39 +0000 https://www.qr.newworldmedical.com/?page_id=6949 The post Patent No. 10,653,558 appeared first on New World Medical Patents & Product Launches.

]]>

Granted on May 19, 2020

Patent No. 10,653,558

Ophthalmic Knife and Methods of Use

INVENTORS

Malik Kahook, MD

Eric Porteous

Suhail Abdullah

Khalid Mansour

Abstract

The present invention relates to an ophthalmic knife and methods of its use for treatment of various conditions including eye diseases, such as glaucoma, using minimally invasive surgical techniques. The invention relates to a multi-blade device for cutting the tissues within the eye, for example, a trabecular meshwork (TM).

Patent Images

March 16, 2021 in Patents

Patent No. 10,945,883

Granted on March 16, 2021 Patent No. 10,945,883 Ocular Implants, Inserter Devices, and Methods for Insertion of Ocular Implant INVENTORS Malik Kahook, MD Eric Porteous Suhail Abdullah Joey Tran Daniel…
Read More
March 16, 2021 in Patents

Patent No. 10,946,145

Granted on March 16, 2021 Patent No. 10,946,145 Device for Intraocular Fluid Injection INVENTORS Vijay Balan Nico Slabber Abstract Devices and methods for intraocular fluid injection are disclosed. A device…
Read More
March 16, 2021 in Patents

Patent No. 10,945,885

Granted on March 16, 2021 Patent No. 10,945,885 Intraocular Device for Dual Incisions INVENTORS Malik Kahook, MD Abstract A microsurgical device and methods of its use can be used for…
Read More
November 10, 2020 in Patents

Patent No. 10,828,196

Granted on November 10, 2020 Patent No. 10,828,196 Ocular Treatment Devices and Related Methods of Use INVENTORS Malik Kahook, MD Abstract Apparatus and methods for ocular treatment are provided. The…
Read More

The post Patent No. 10,653,558 appeared first on New World Medical Patents & Product Launches.

]]>